GM Service Manual Online
For 1990-2009 cars only
Makes
🢒
Pontiac
🢒
1998
🢒
Trans Sport Ext.
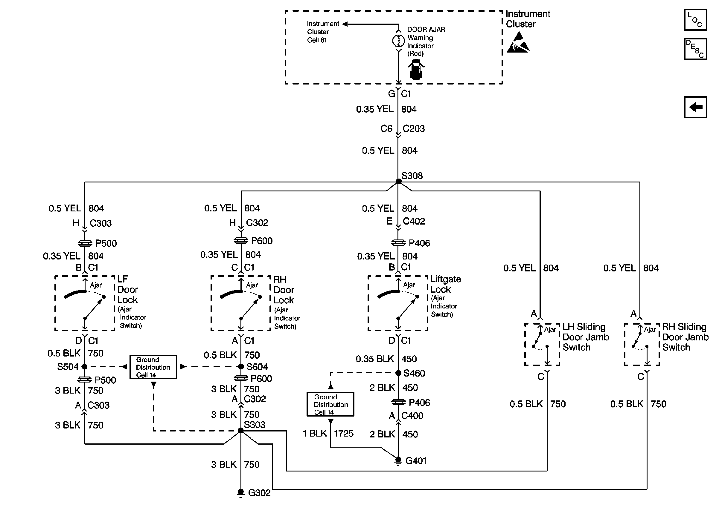
🢒 Cell 81: Sliding Door Jamb Switches, Liftgate Lock, Door Locks
Cell 81: Sliding Door Jamb Switches, Liftgate Lock, Door Locks
Cell 81: Sliding Door Jamb Switches, Liftgate Lock, Door Locks
Instrument Cluster Components
Instrument Cluster Circuit Description
Cell 81: Transaxle Range Switch
Handling ESD Sensitive Parts Notice
Cell 14: G302
Cell 14: G401