GM Service Manual Online
For 1990-2009 cars only
Makes
🢒
Pontiac
🢒
2005
🢒
Wave
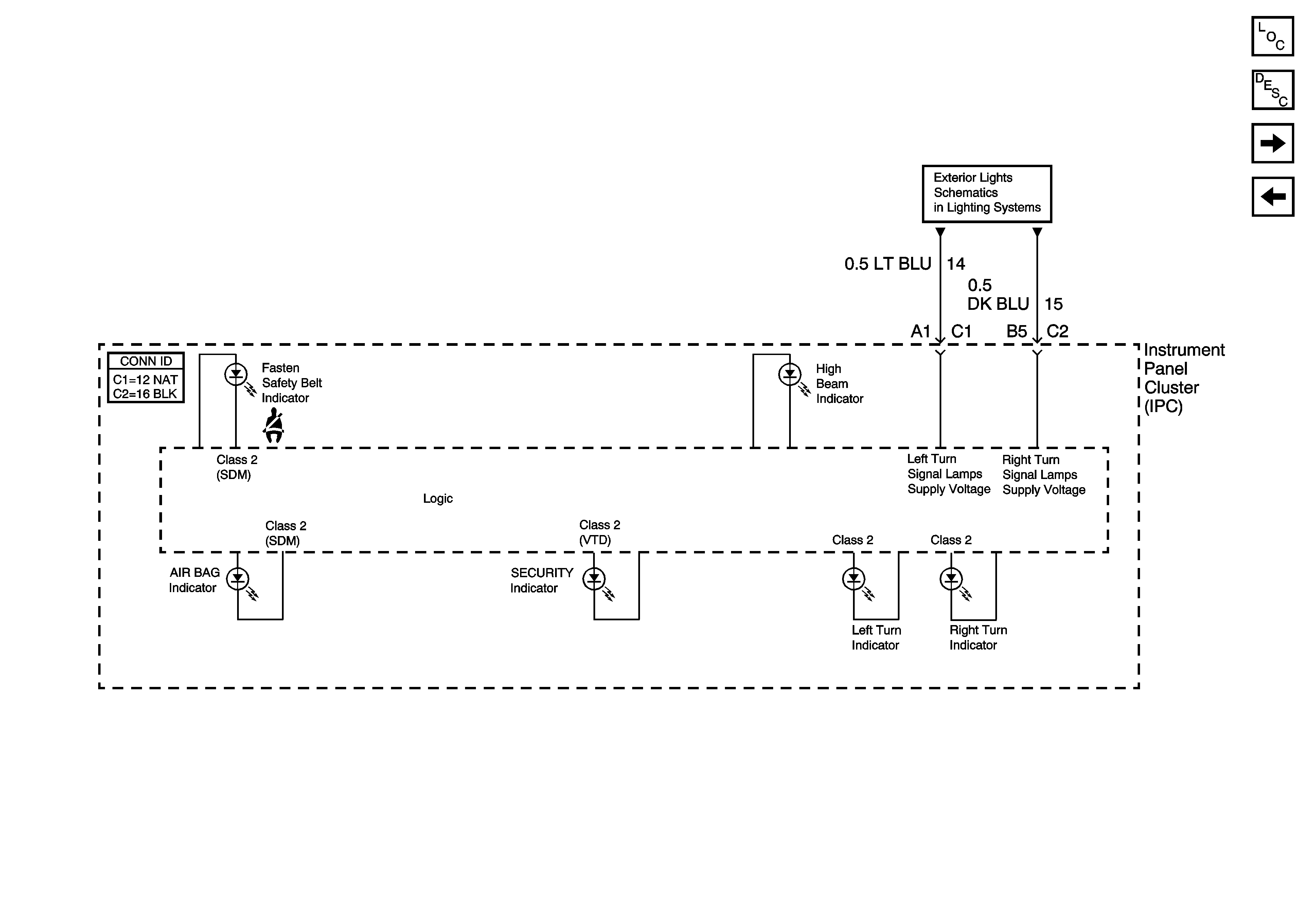
🢒 DIM, RIM, and PCM Signals - Seat Belt, High Beam, Air Bag, and Turn Signal Indicators
DIM, RIM, and PCM Signals - Seat Belt, High Beam, Air Bag, and Turn Signal Indicators
DIM, RIM, and PCM Signals - Seat Belt, High Beam, Air Bag, and Turn Signal Indicators
Master Electrical Component List
Indicator/Warning Message Description and Operation
Systems Monitor - Washer Fluid, Check Oil Levels, Check Gages, Tire Pressure, Door and Trunk Ajar Indicators
DIM, PCM, and EBCM Signals - Traction, ABS, Brake, Battery and MIL Indicators
Turn Signal Lamps and Indicators