GM Service Manual Online
For 1990-2009 cars only
Makes
🢒
Pontiac
🢒
2005
🢒
Wave
🢒 DIM, PCM, and EBCM Signals - Traction, ABS, Brake, Battery and MIL Indicators
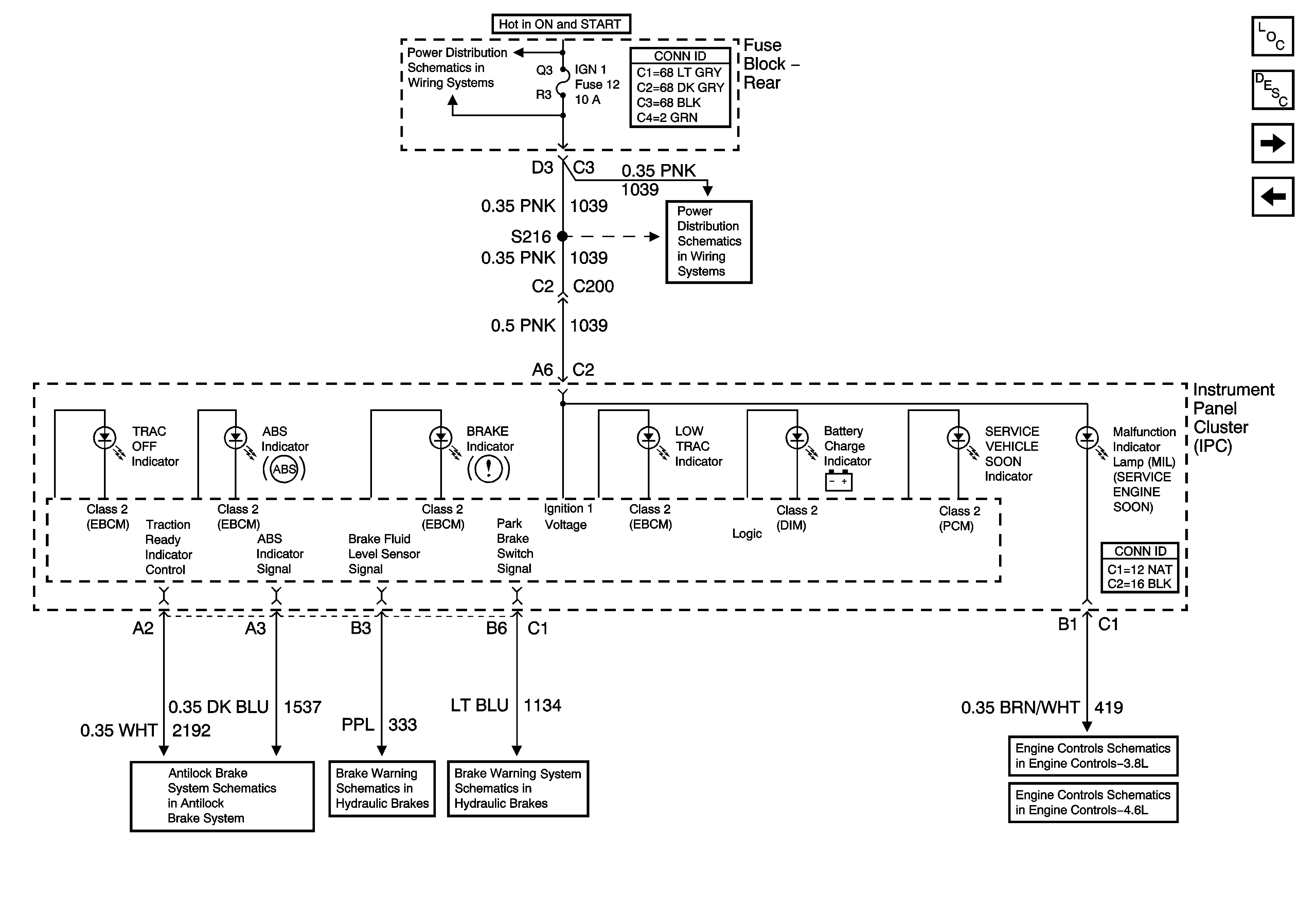
DIM, PCM, and EBCM Signals - Traction, ABS, Brake, Battery and MIL Indicators
DIM, PCM, and EBCM Signals - Traction, ABS, Brake, Battery, and MIL Indicators
Master Electrical Component List
Indicator/Warning Message Description and Operation
DIM, RIM, and PCM Signals - Seat Belt, High Beam, Air Bag, and Turn Signal Indicators
PCM Signals - Engine Oil and Volt Indicators
IGN-1, VENT SOL, and SIR Fuses
IGN-1, VENT SOL, and SIR Fuses
Indicators and the Traction Control Switch
Brake Warning System Schematic
Brake Warning System Schematic
PCM Power, Ground, Serial Data and MIL
PCM Power, Ground, Serial Data, and MIL