GM Service Manual Online
For 1990-2009 cars only
Makes
🢒
Pontiac
🢒
2005
🢒
Wave
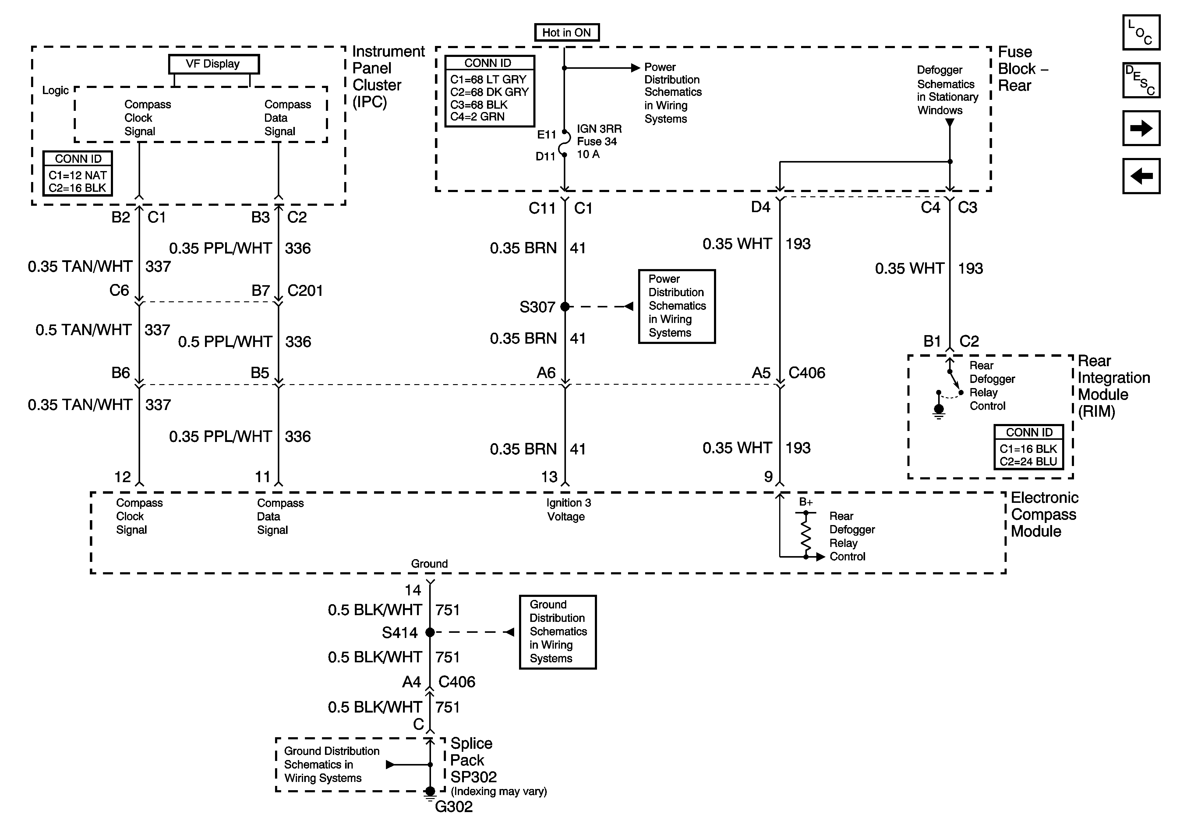
🢒 Compass
Compass
Compass
Master Electrical Component List
Indicator/Warning Message Description and Operation
DIC Switch (U50)
Systems Monitor - Washer Fluid, Check Oil Levels, Check Gages, Tire Pressure, Door and Trunk Ajar Indicators
IGN3 RR, and ABS Fuses (Fuse Block Rear)
Defogger Schematic (CJ2)
IGN3 RR and ABS Fuses
G302
G302