GM Service Manual Online
For 1990-2009 cars only
Makes
🢒
Pontiac
🢒
2005
🢒
Wave
🢒 Left Rear Door
Left Rear Door
Left Rear Door
Master Electrical Component List
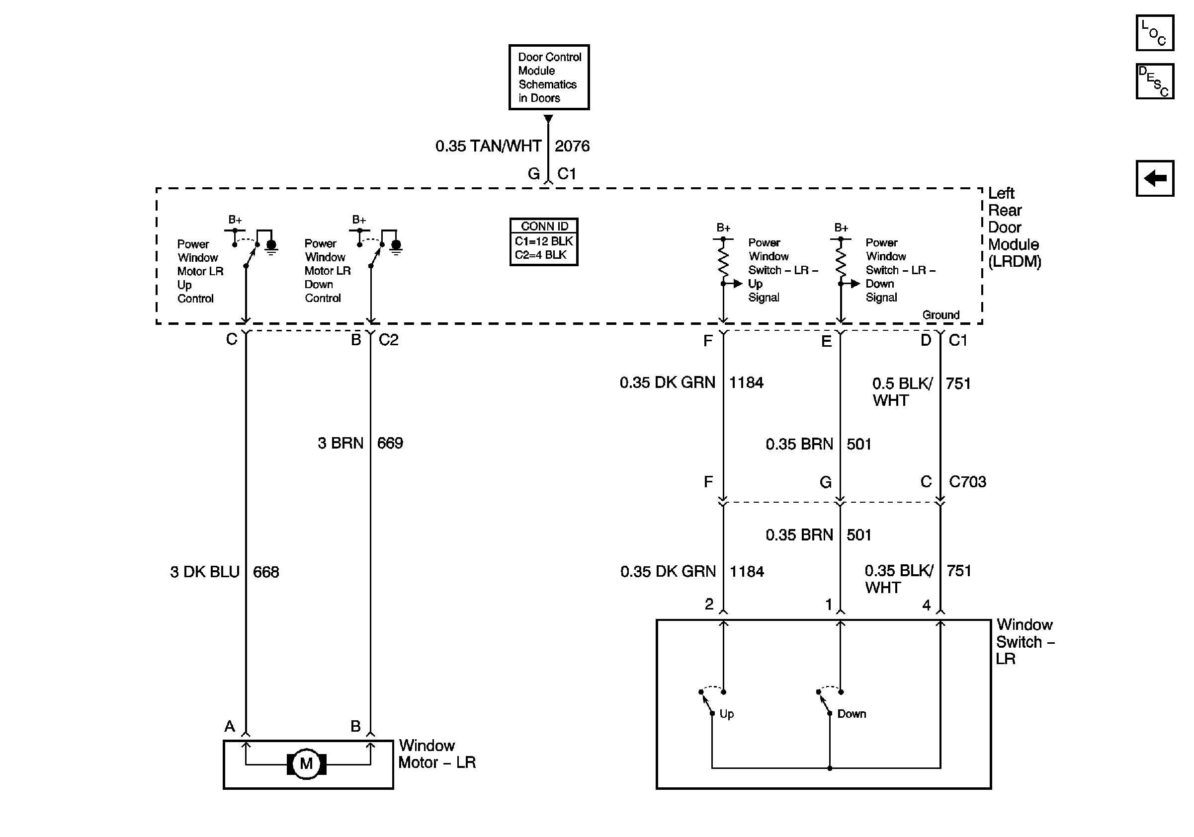
Power Windows Description and Operation
Right Rear Door
Simple Bus Interface (SBI)