GM Service Manual Online
For 1990-2009 cars only
Makes
🢒
Pontiac
🢒
2005
🢒
Wave
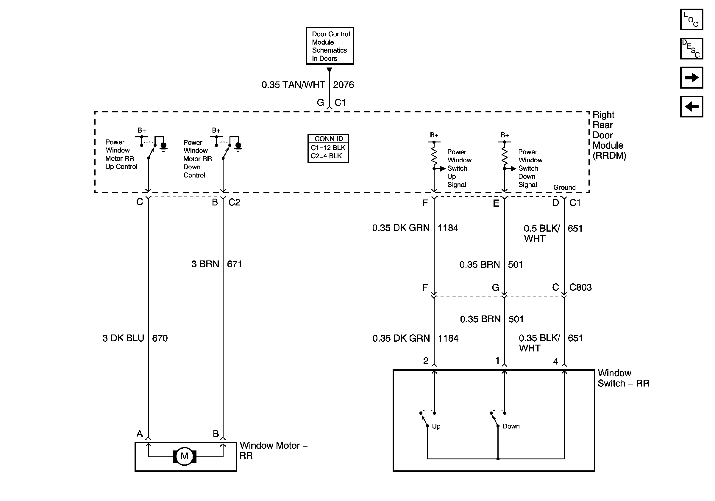
🢒 Right Rear Door
Right Rear Door
Right Rear Door
Master Electrical Component List
Power Windows Description and Operation
Left Rear Door
Left Front Door
Simple Bus Interface (SBI)