GM Service Manual Online
For 1990-2009 cars only
Makes
🢒
Pontiac
🢒
2005
🢒
Wave
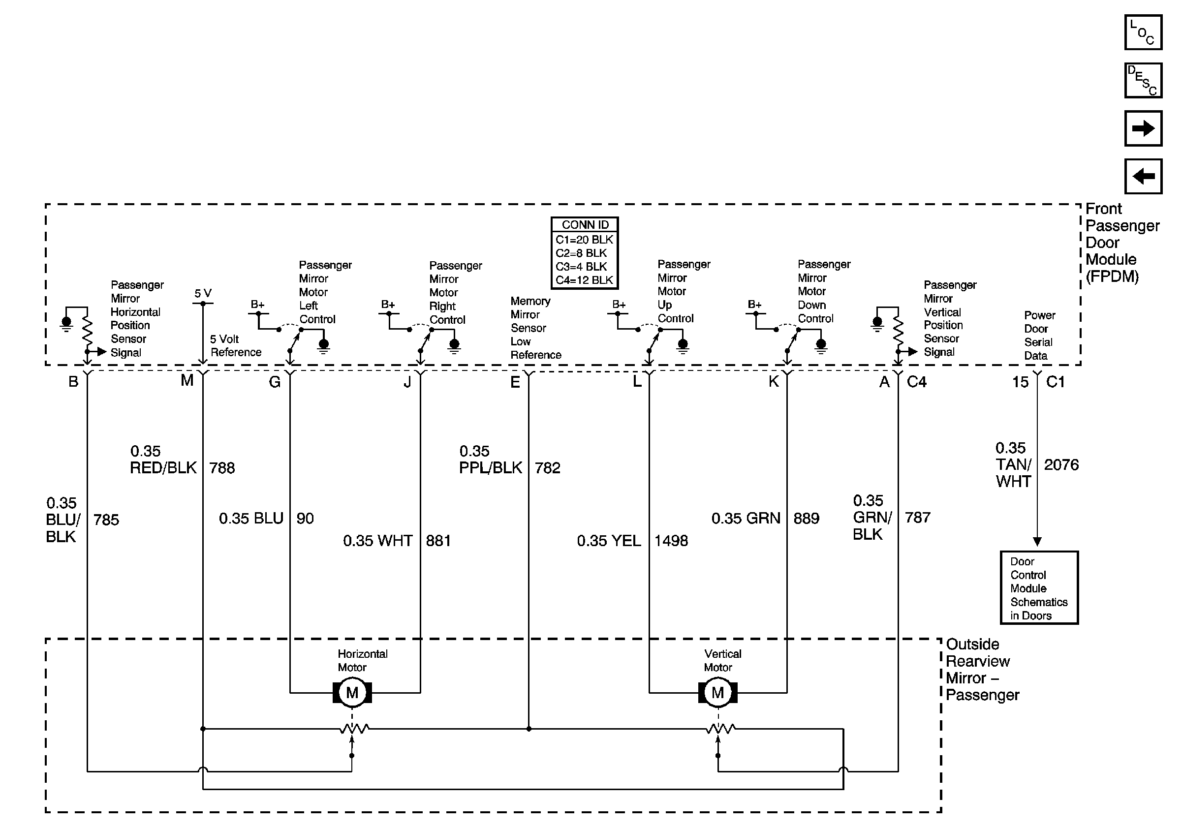
🢒 Right Mirror (A45)
Right Mirror (A45)
Right Mirror (A45)
Master Electrical Component List
Outside Mirror Description and Operation
Heated Mirrors (DK5)
Left Mirror (A45)
Simple Bus Interface (SBI)