GM Service Manual Online
For 1990-2009 cars only
Makes
🢒
Pontiac
🢒
2005
🢒
Wave
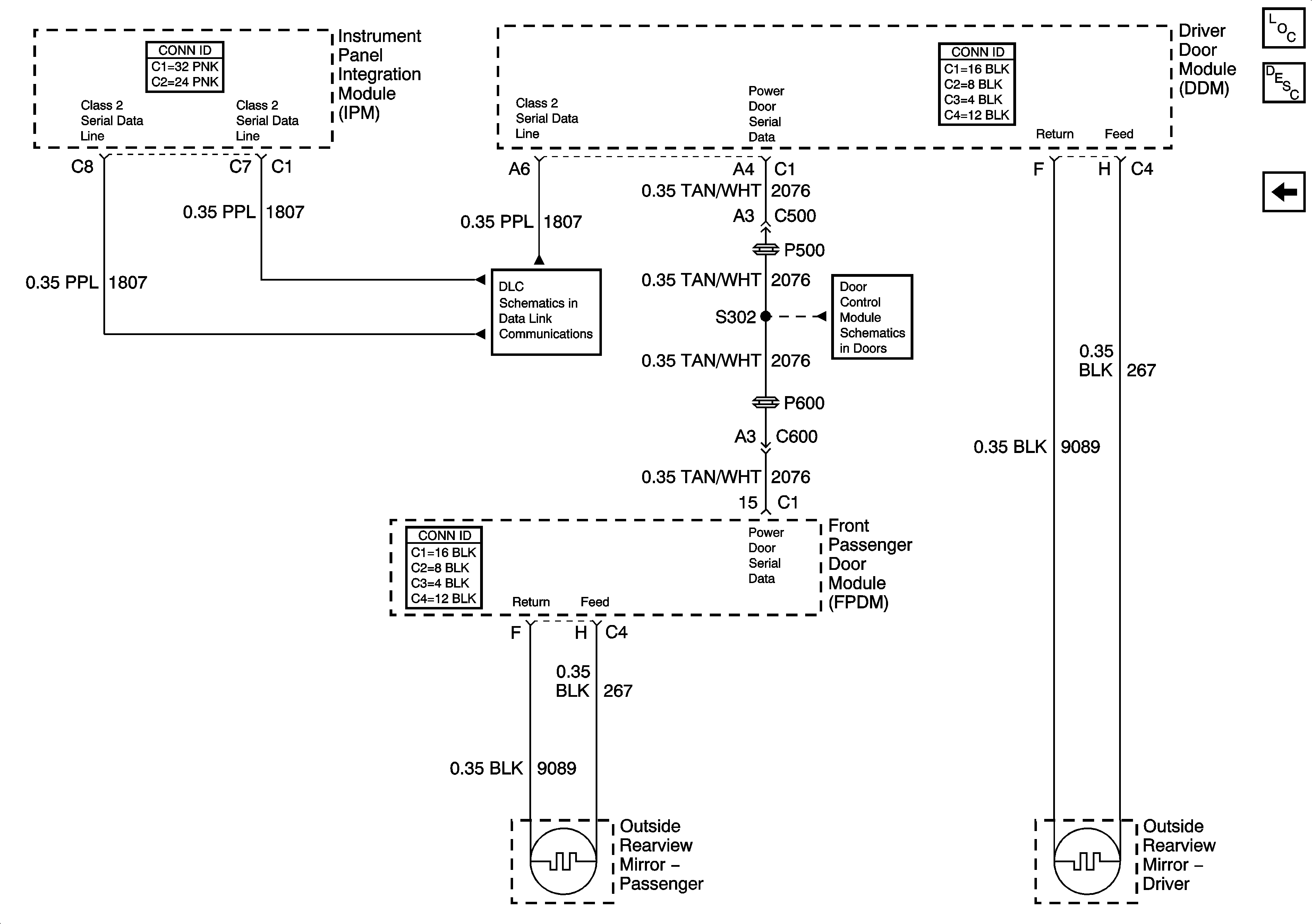
🢒 Heated Mirrors (DK5)
Heated Mirrors (DK5)
Heated Mirrors (DK5)
Master Electrical Component List
Outside Mirror Description and Operation
Right Mirror (A45)
Serial Data Class 2
Simple Bus Interface (SBI)