GM Service Manual Online
For 1990-2009 cars only
Makes
🢒
Pontiac
🢒
2005
🢒
Wave
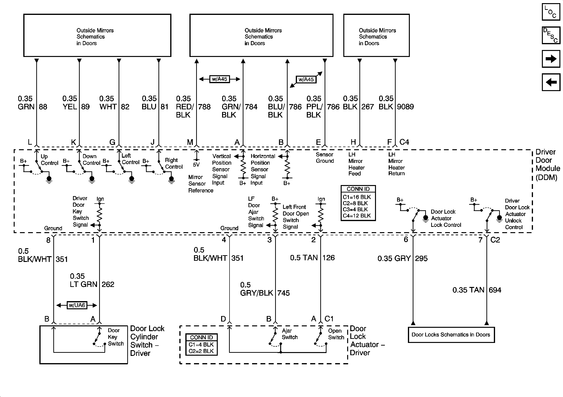
🢒 DDM Inputs/Outputs
DDM Inputs/Outputs
DDM Inputs/Outputs
Master Electrical Component List
Power Door Locks Description and Operation
PDM Inputs/Outputs
PDM Power and Ground
Left Mirror (w/o A45)
Left Mirror (A45)
Heated Mirrors (DK5)
Left Front Door