GM Service Manual Online
For 1990-2009 cars only
Makes
🢒
Pontiac
🢒
2005
🢒
Wave
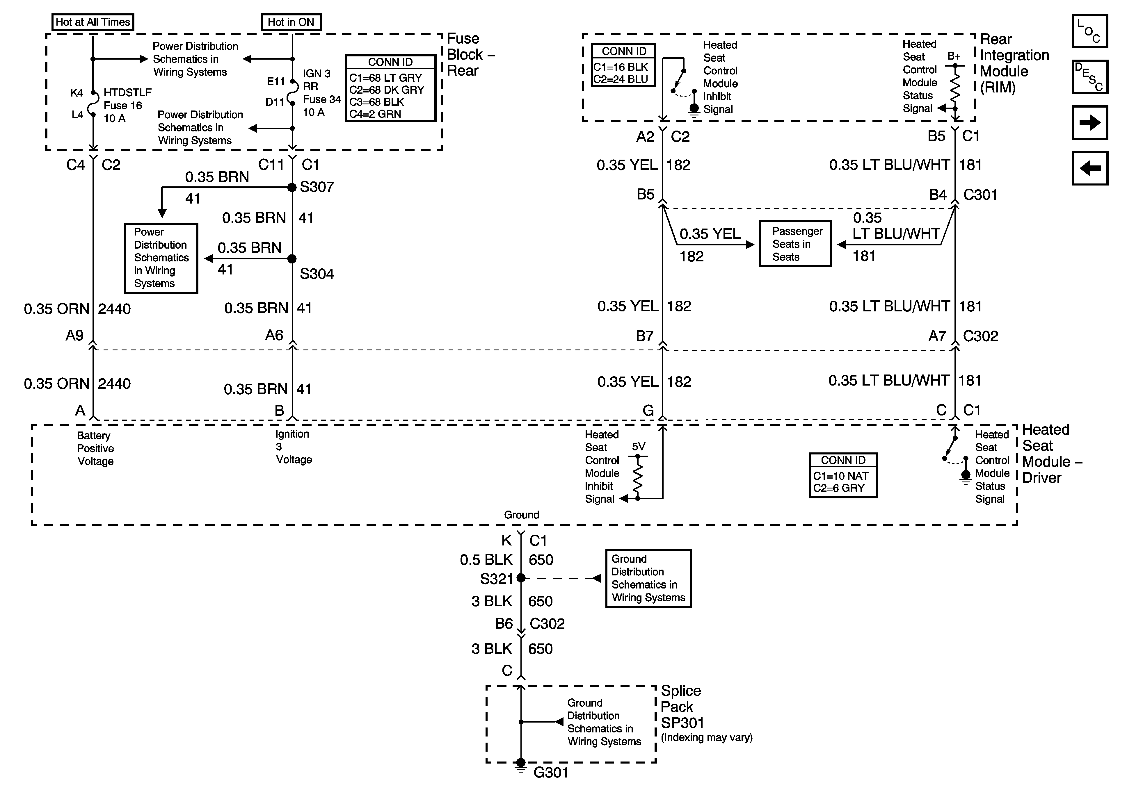
🢒 Heated Seat Power, Ground, and RIM Controls
Heated Seat Power, Ground, and RIM Controls
Heated Seat Power, Ground, and RIM Controls
Master Electrical Component List
Heated Seats Description and Operation
Heated Seat Cushion, and Switch
Lumbar (A45)
HTDST RF, HTDST LF, DIM, and MEM Fuses
IGN3 RR and ABS Fuses
IGN3 RR and ABS Fuses
Heated Seat - Power, Ground, and RIM Control
G301 - 2 of 2
G301 - 2 of 2