GM Service Manual Online
For 1990-2009 cars only
Makes
🢒
Pontiac
🢒
2005
🢒
Wave
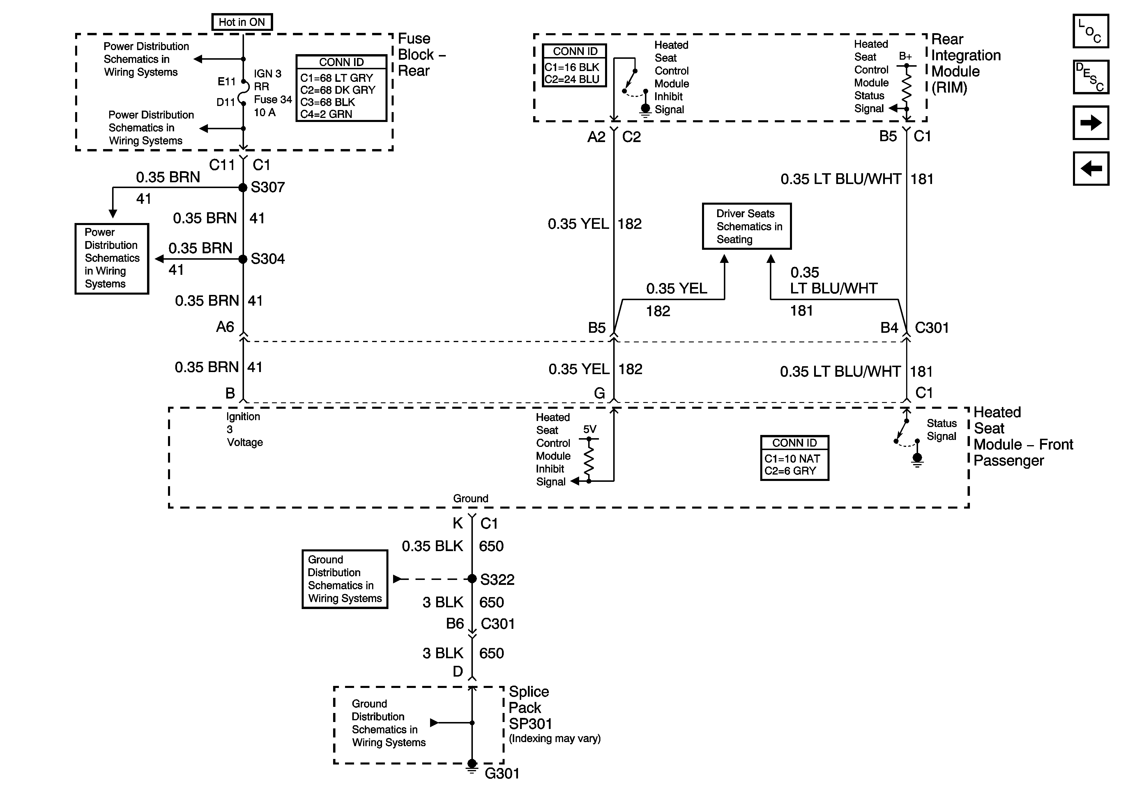
🢒 Heated Seat - Power, Ground, and RIM Control
Heated Seat - Power, Ground, and RIM Control
Heated Seat - Power, Ground, and RIM Control
Master Electrical Component List
Heated Seats Description and Operation
Heated Seat - Cushion and Switch
Lumbar
IGN3 RR and ABS Fuses
IGN3 RR and ABS Fuses
IGN3 RR and ABS Fuses
Heated Seat Power, Ground, and RIM Controls
G300 and G301 - 1 of 2
G300 and G301 - 1 of 2