GM Service Manual Online
For 1990-2009 cars only
Makes
🢒
Pontiac
🢒
2005
🢒
Wave
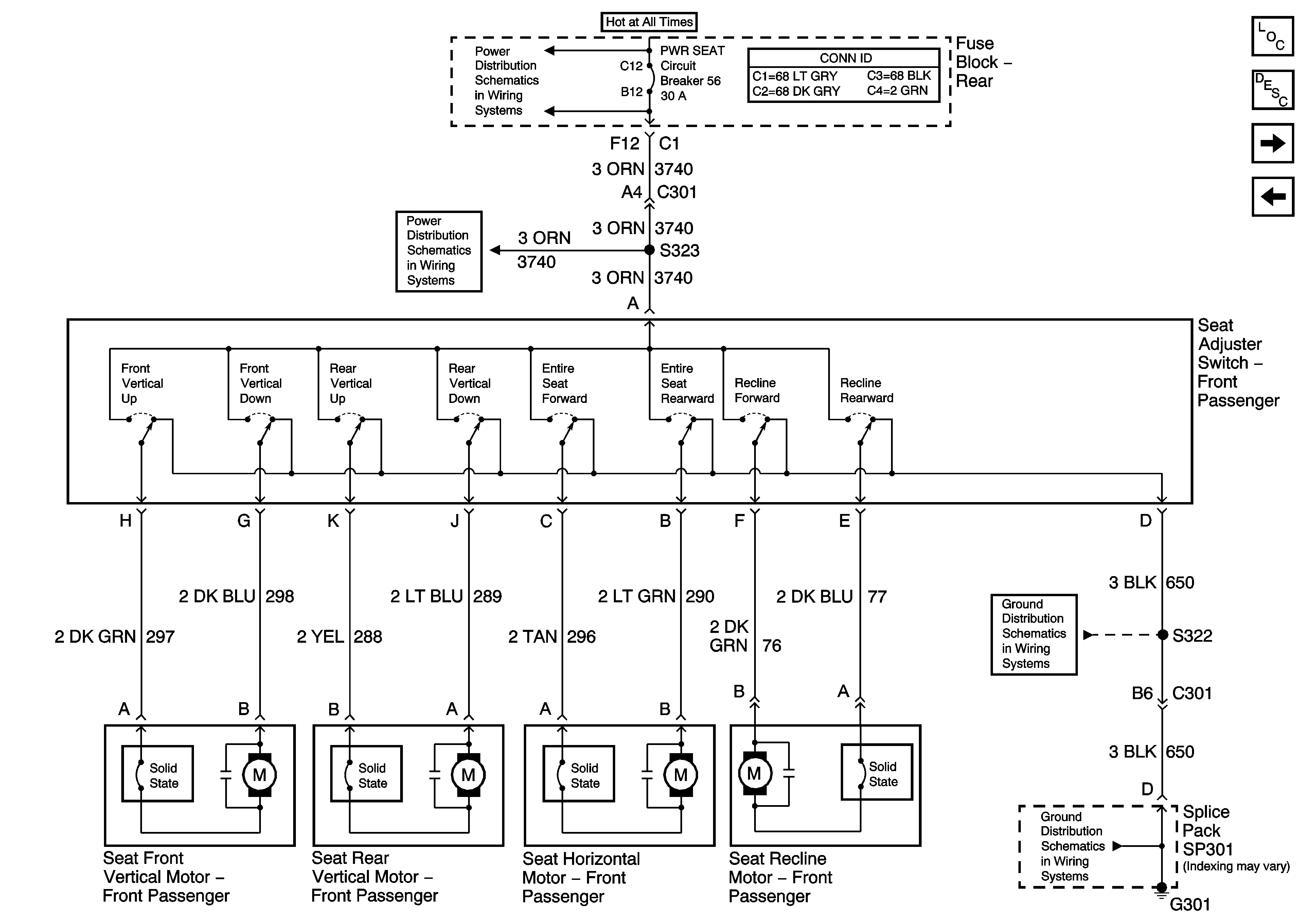
🢒 Seat Switch and Motors (A51)
Seat Switch and Motors (A51)
Seat Switch and Motors (A51)
Master Electrical Component List
Power Seats System Description and Operation
Lumbar
Seat Switch and Motors (w/o A51)
PWR WDO and PWR SEAT Circuit Breakers
PWR WDO and PWR SEAT Circuit Breakers
G300 and G301 - 1 of 2
G300 and G301 - 1 of 2