GM Service Manual Online
For 1990-2009 cars only
Makes
🢒
Pontiac
🢒
2005
🢒
Wave
🢒 Lumbar
Lumbar
Lumbar
Master Electrical Component List
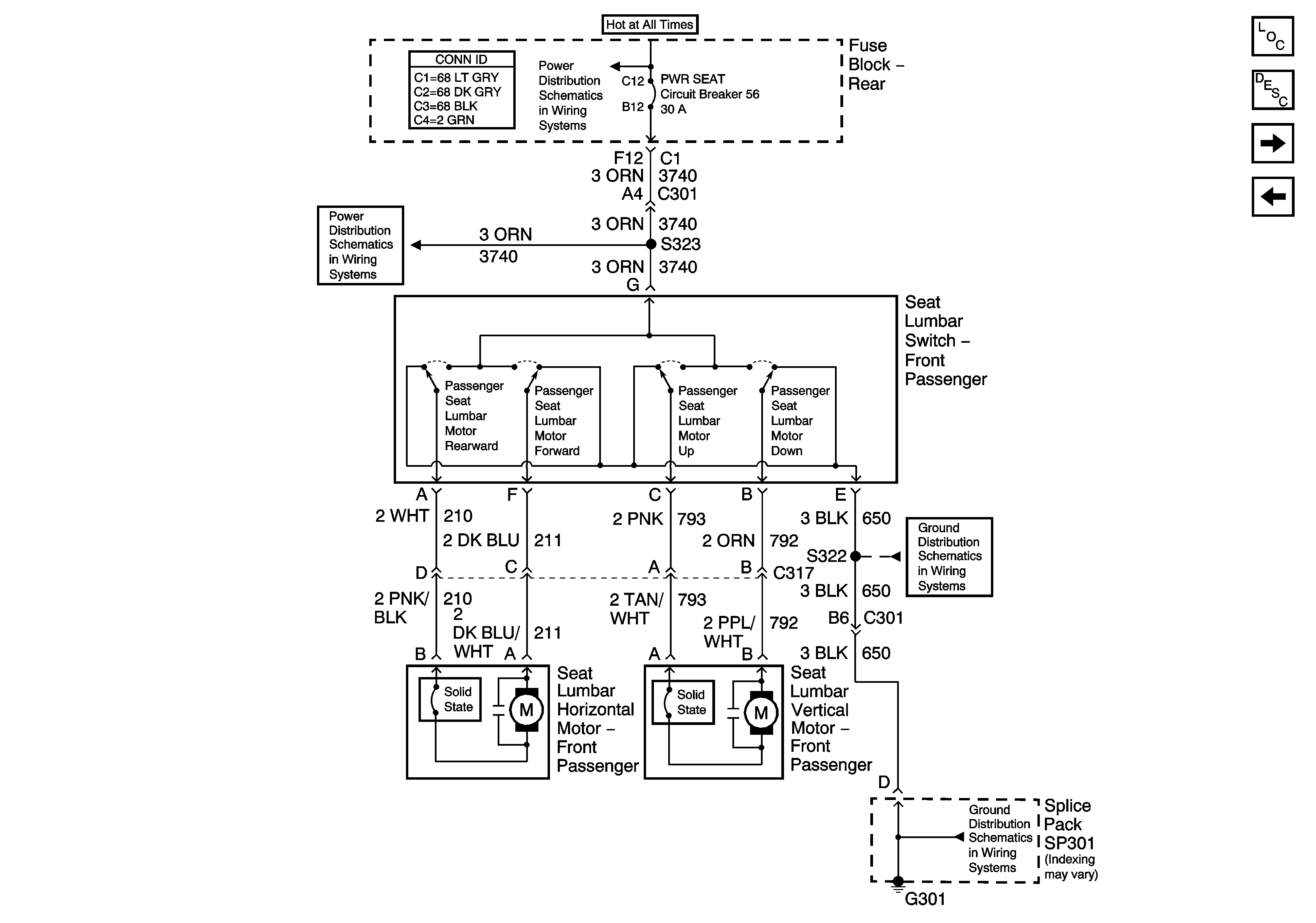
Lumbar Support Description and Operation w/o A45
Heated Seat - Power, Ground, and RIM Control
Seat Switch and Motors (A51)
PWR WDO and PWR SEAT Circuit Breakers
PWR WDO and PWR SEAT Circuit Breakers
G300 and G301 - 1 of 2
G300 and G301 - 1 of 2