GM Service Manual Online
For 1990-2009 cars only
Makes
🢒
Pontiac
🢒
2005
🢒
Wave
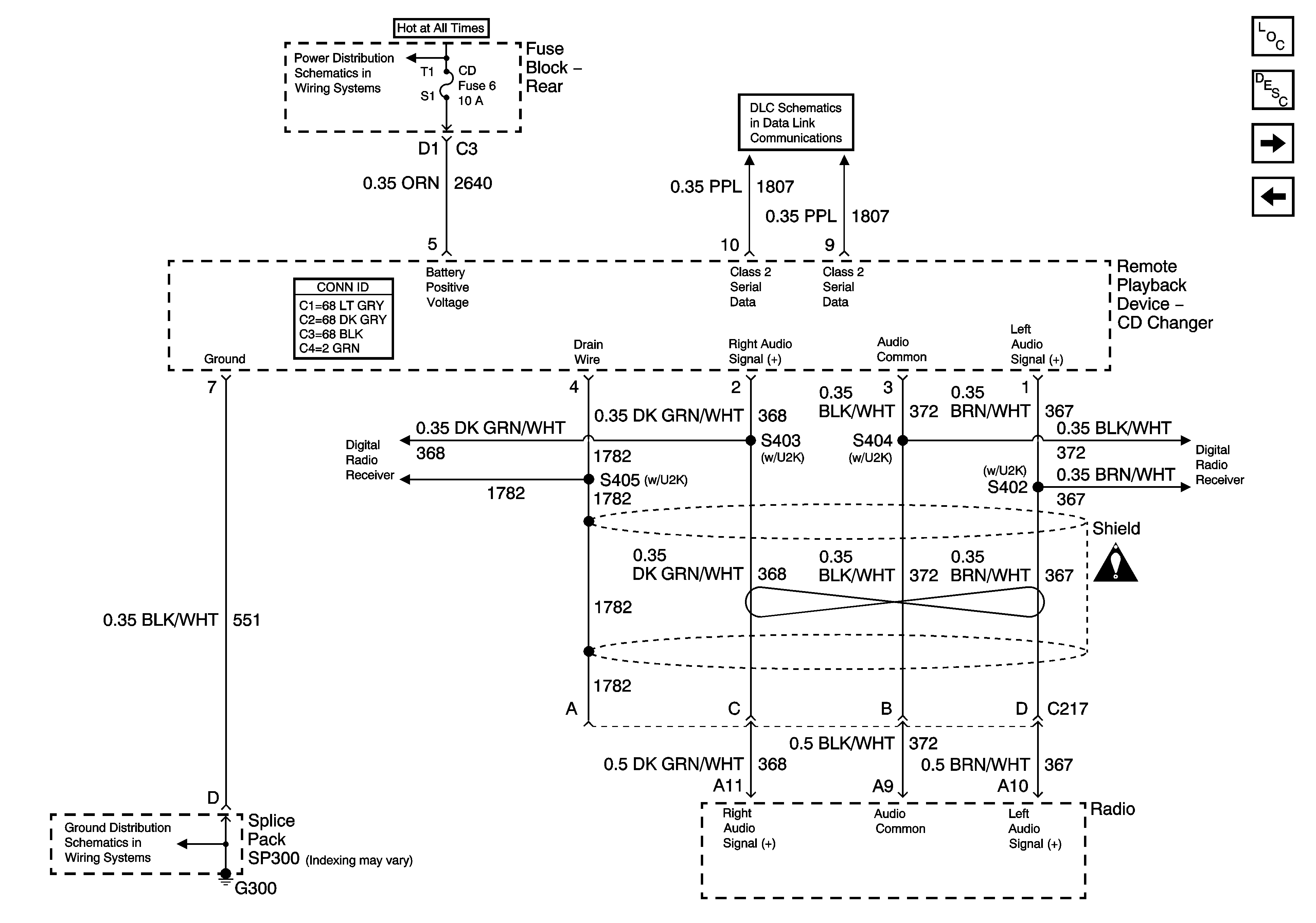
🢒 CD Player (w/U1S)
CD Player (w/U1S)
CD Player (U1S)
Master Electrical Component List
Radio/Audio System Description and Operation
Digital Radio Receiver
Rear Speakers (w/UZ8)
TSIG/HAZ, STOP LP, AUDIO, and CD Fuses
Serial Data Class 2
Digital Radio Receiver
Digital Radio Receiver
Entertainment Schematic Icons
G300 and G301 - 1 of 2