GM Service Manual Online
For 1990-2009 cars only
Makes
🢒
Pontiac
🢒
2005
🢒
Wave
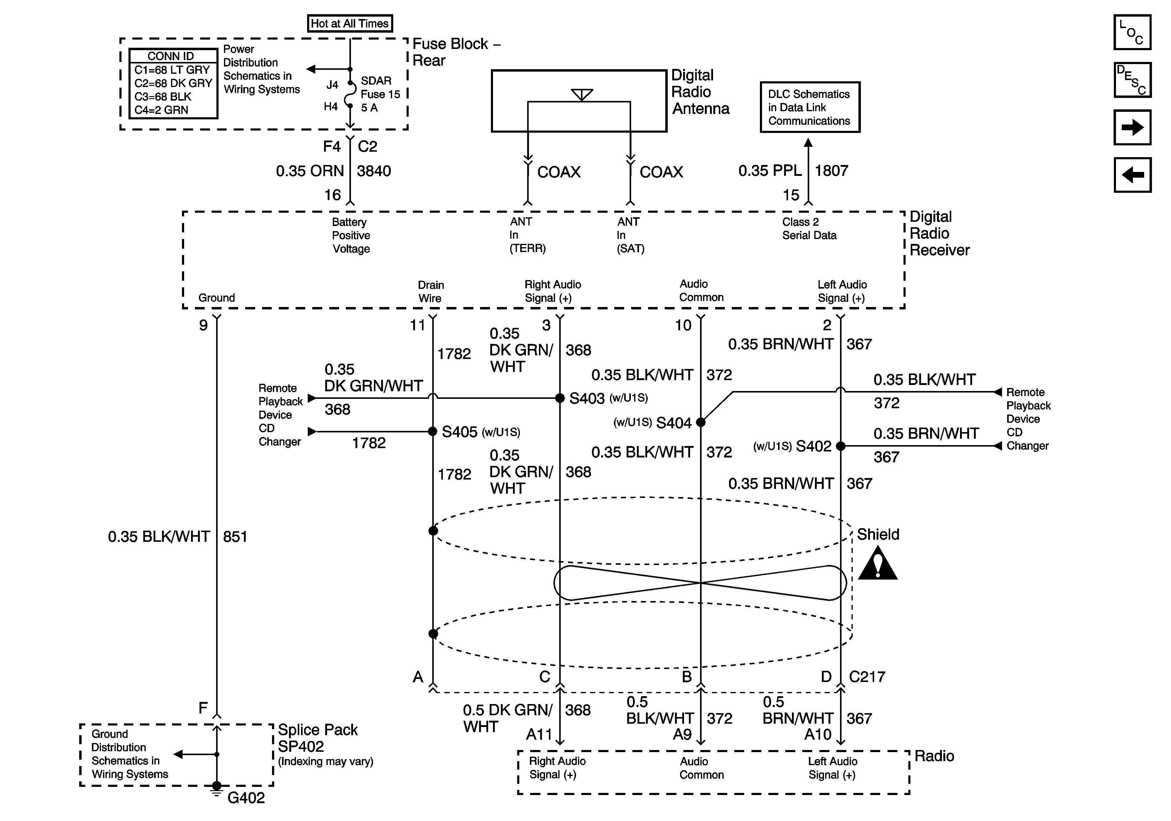
🢒 Digital Radio Receiver
Digital Radio Receiver
Digital Radio Receiver
Master Electrical Component List
Radio/Audio System Description and Operation
Antenna Module
CD Player (w/U1S)
HVAC BLO, AUDIO AMP, and SDAR Fuses
Serial Data Class 2
CD Player (w/U1S)
CD Player (w/U1S)
Entertainment Schematic Icons
G402