GM Service Manual Online
For 1990-2009 cars only
Makes
🢒
Pontiac
🢒
2005
🢒
Wave
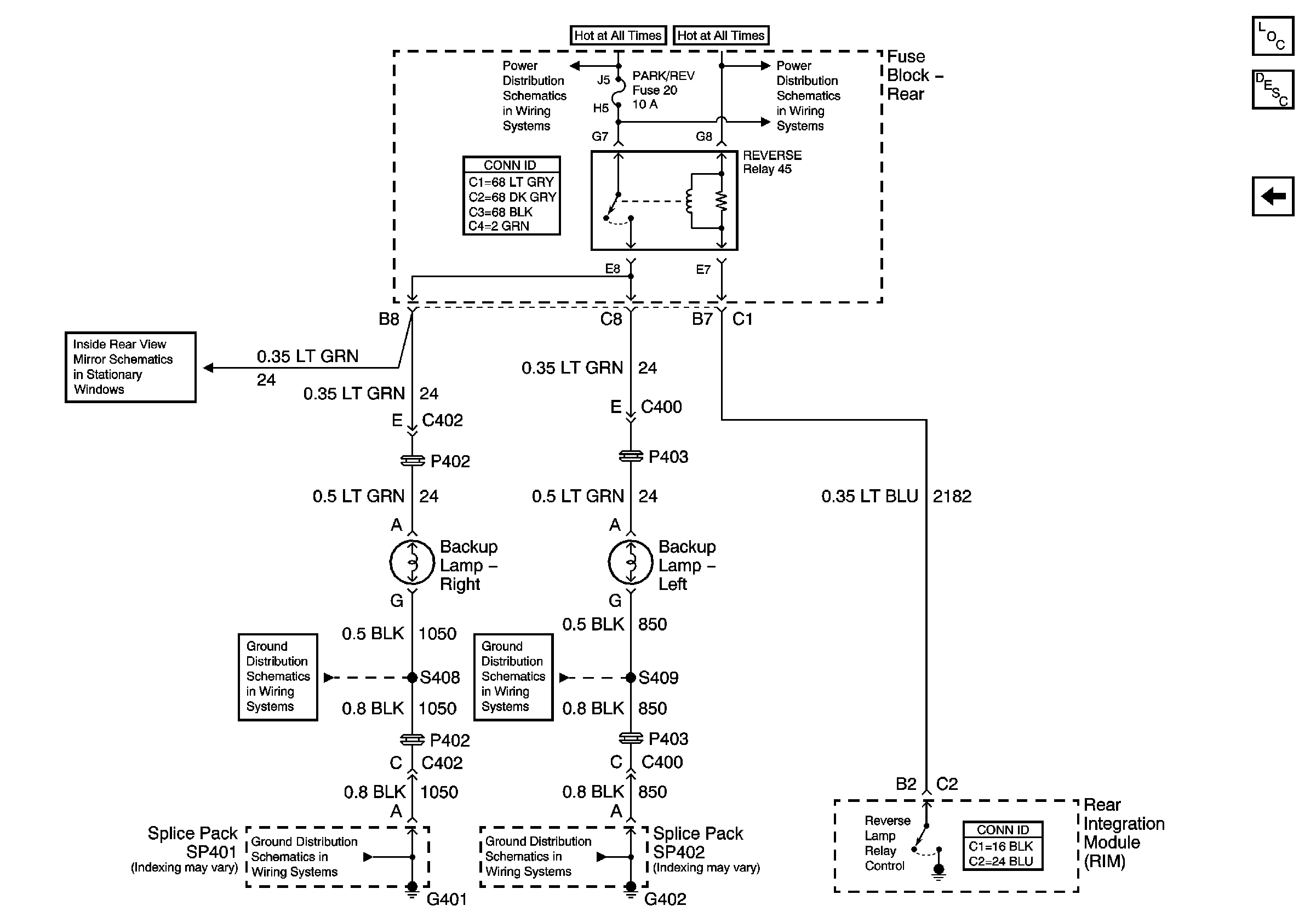
🢒 Backup Lamps
Backup Lamps
Backup Lamps
Master Electrical Component List
Exterior Lighting Systems Description and Operation
Park LP Relay and License Lamps
IGN SW and PRK/REV Fuses
IGN SW and PRK/REV Fuses
Inside RV Mirror Schematic
G401 - 2 of 2
G401 - 2 of 2
G402
G402