GM Service Manual Online
For 1990-2009 cars only

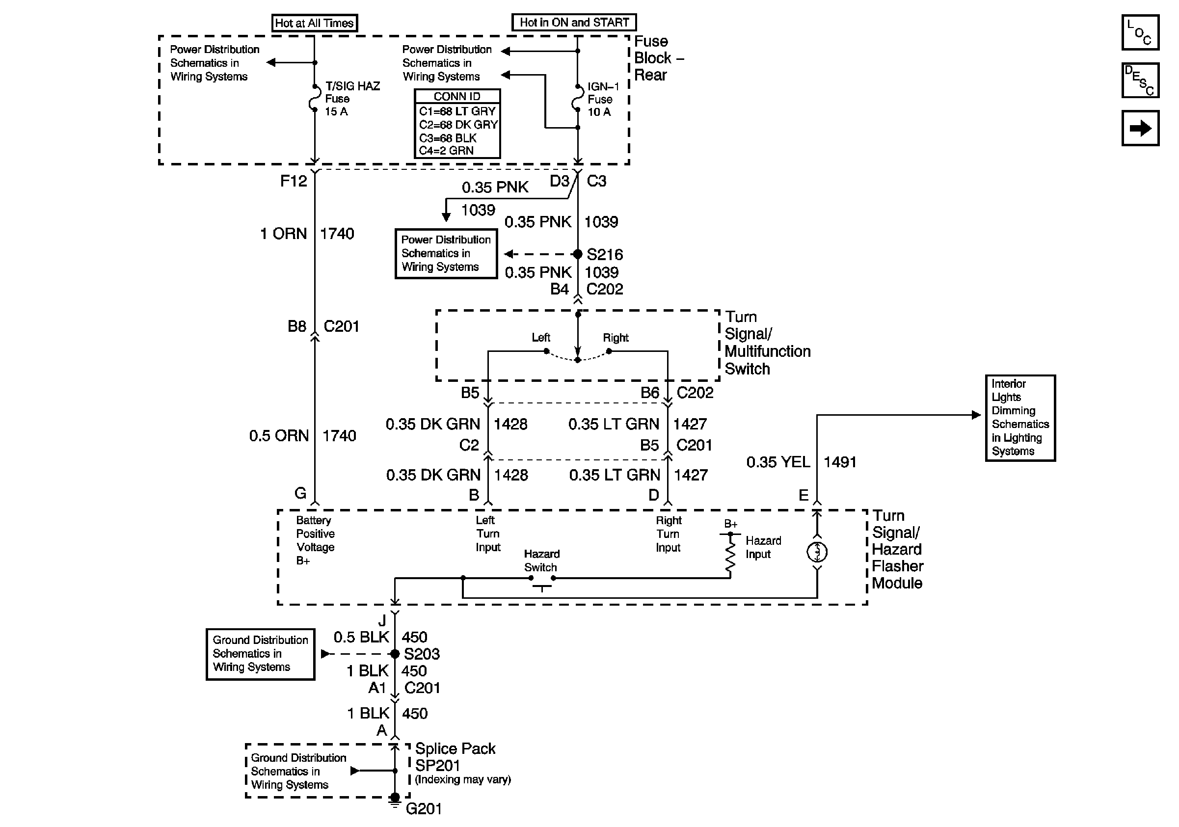
Turn Signal/Hazard Flasher Module Inputs

Turn Signal/Hazard Flasher Module Inputs


Object Number: 765791  Size: FS
Master Electrical Component List
TSIG/HAZ, STOP LP, AUDIO, and CD Fuses (Fuse Block Rear)
G201 (1 of 2)
G201 (1 of 2)
IGN 1, Vent Sol, and SIR Fuses (Fuse Block Rear)
IGN 1, Vent Sol, and SIR Fuses (Fuse Block Rear)
IP and Console Dimming
Turn Signal Lamps and Indicators