GM Service Manual Online
For 1990-2009 cars only
Makes
🢒
Pontiac
🢒
2005
🢒
Wave
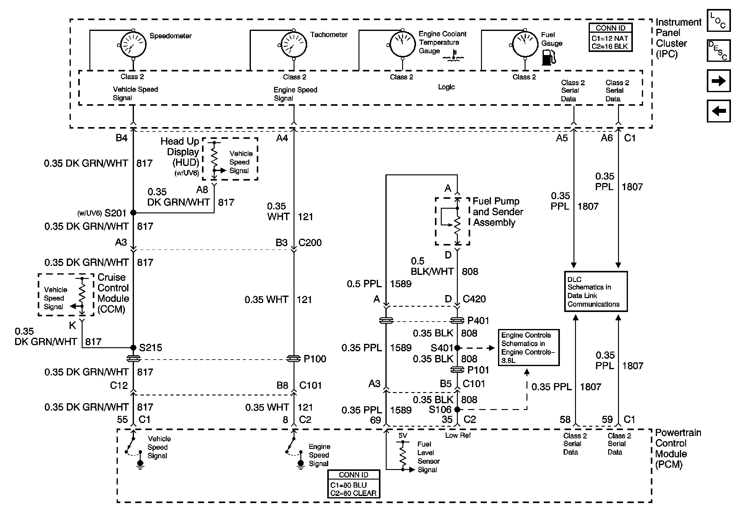
🢒 PCM Signals Speedometer, Tachometer, and Fuel Indicators
PCM Signals Speedometer, Tachometer, and Fuel Indicators
PCM Signals Speedometer, Tachometer, and Fuel Indicators
Master Electrical Component List
Engine Data Sensors - MAF, VSS and Extended Brake Travel Switch
Engine Data Sensors - MAF, VSS and Extended Brake Travel Switch
Fuel Sensor and EVAP Solenoid Controls
Serial Data Class 2
PCM Signals Boost, Engine Oil, and Volt Indicators
Power, Ground, and Class 2