GM Service Manual Online
For 1990-2009 cars only
Makes
🢒
Pontiac
🢒
2005
🢒
Wave
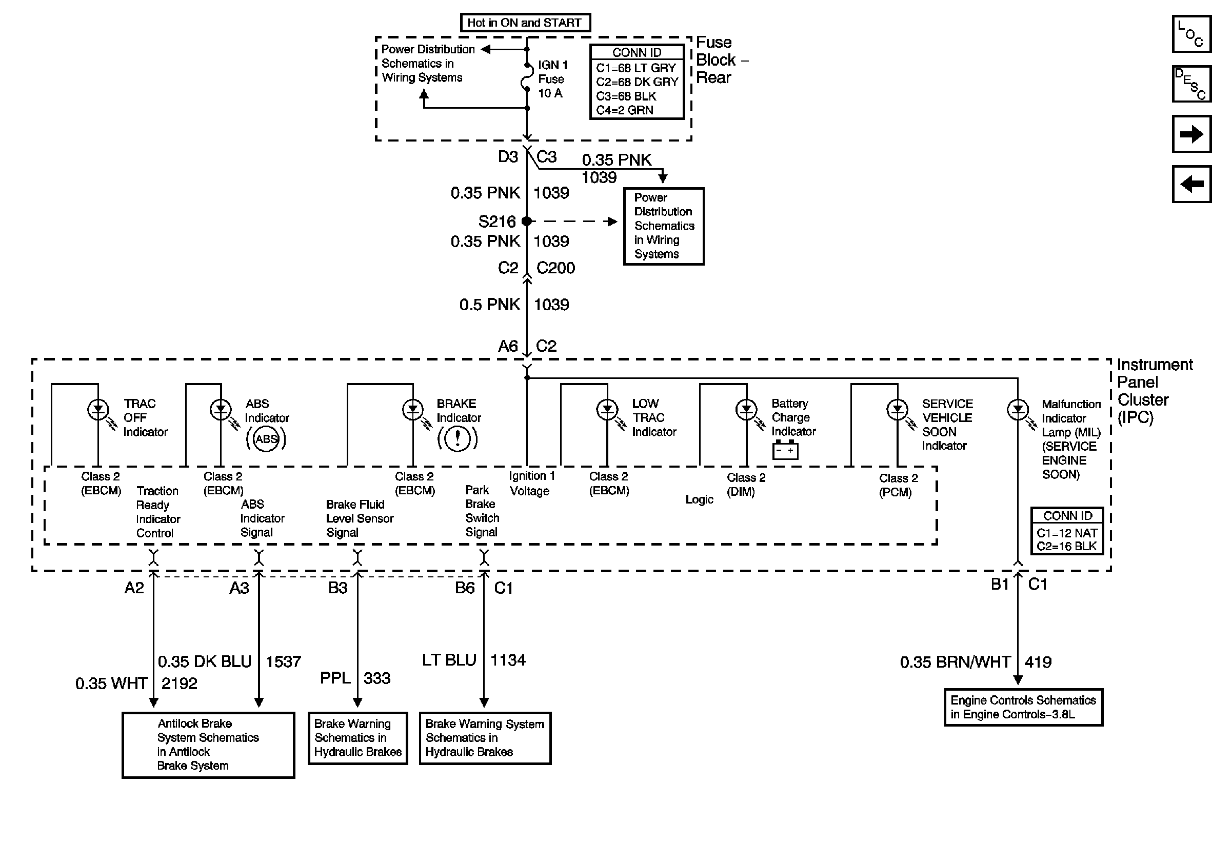
🢒 DIM, PCM, and EBCM Signals Traction, ABS, Brake, Battery and MIL Indicators
DIM, PCM, and EBCM Signals Traction, ABS, Brake, Battery and MIL Indicators
DIM, PCM, and EBCM Signals Traction, ABS, Brake, Battery and MIL Indicators
Master Electrical Component List
Indicators and the Traction Control Switch
IGN 1, Vent Sol, and SIR Fuses (Fuse Block Rear)
IGN 1, Vent Sol, and SIR Fuses (Fuse Block Rear)
Brake Warning System Schematic
Brake Warning System Schematic
PCM Power, Ground, Serial Data and MIL
DIM, RIM, PCM, and VTD Signals Seat Belt, High Beam, Air Bag, and Turn Signal Indicators
PCM Signals Boost, Engine Oil, and Volt Indicators