GM Service Manual Online
For 1990-2009 cars only

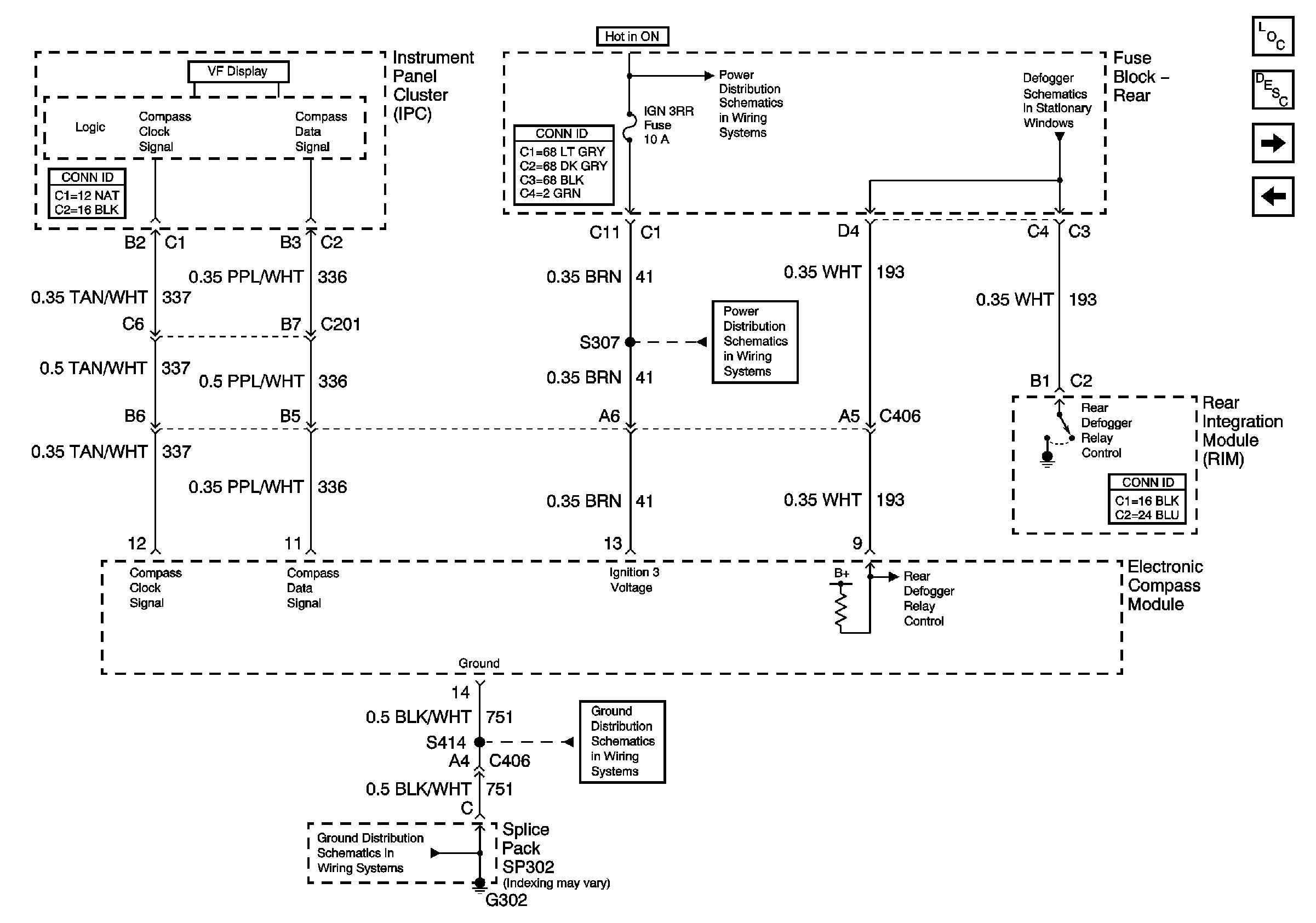
Compass

Compass


Object Number: 766470  Size: FS
Master Electrical Component List
G302
IGN3 and ABS Fuses (Fuse Block Rear)
IGN3 and ABS Fuses (Fuse Block Rear)
G302
Defogger Schematic
DIC Switch (w/U50)
Systems Monitor Washer Fluid, Check oil Level, Check Gauges, Tire Pressure, Door and Trunk Ajar Indicator