GM Service Manual Online
For 1990-2009 cars only
Makes
🢒
Pontiac
🢒
2007
🢒
Wave
🢒 Ignition Systems
Ignition Systems
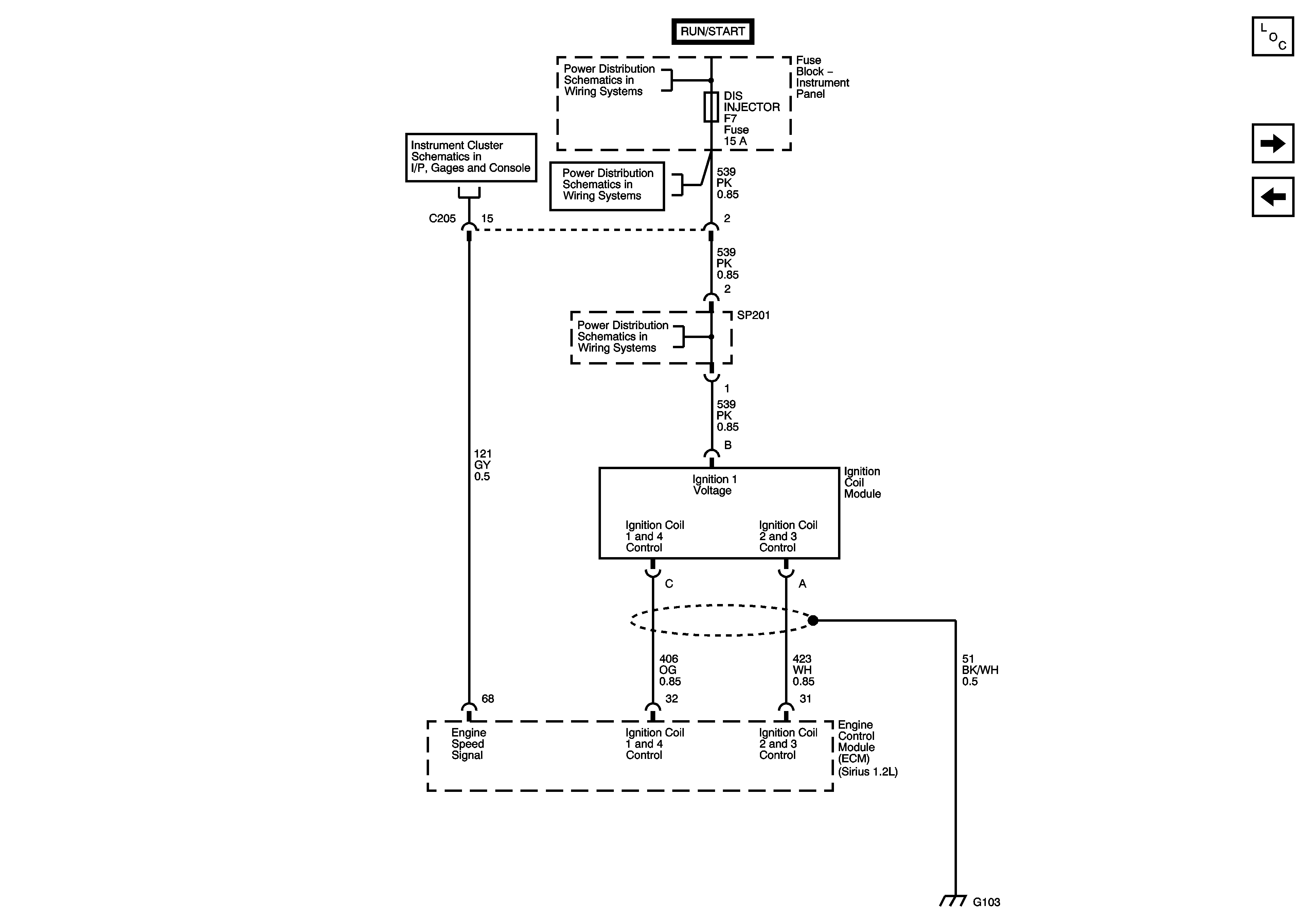
Ignition System
Master Electrical Component List (Hatchback)
Throttle Control
Ignition Sensors
Instrument Cluster Gages 1.2L
Battery Feed
Battery Feed
Battery Feed