GM Service Manual Online
For 1990-2009 cars only
Makes
🢒
Saturn
🢒
2006
🢒
ION
🢒 Controlled/Monitored Sybsystem References
Controlled/Monitored Sybsystem References
Controlled/Monitored Subsystem References
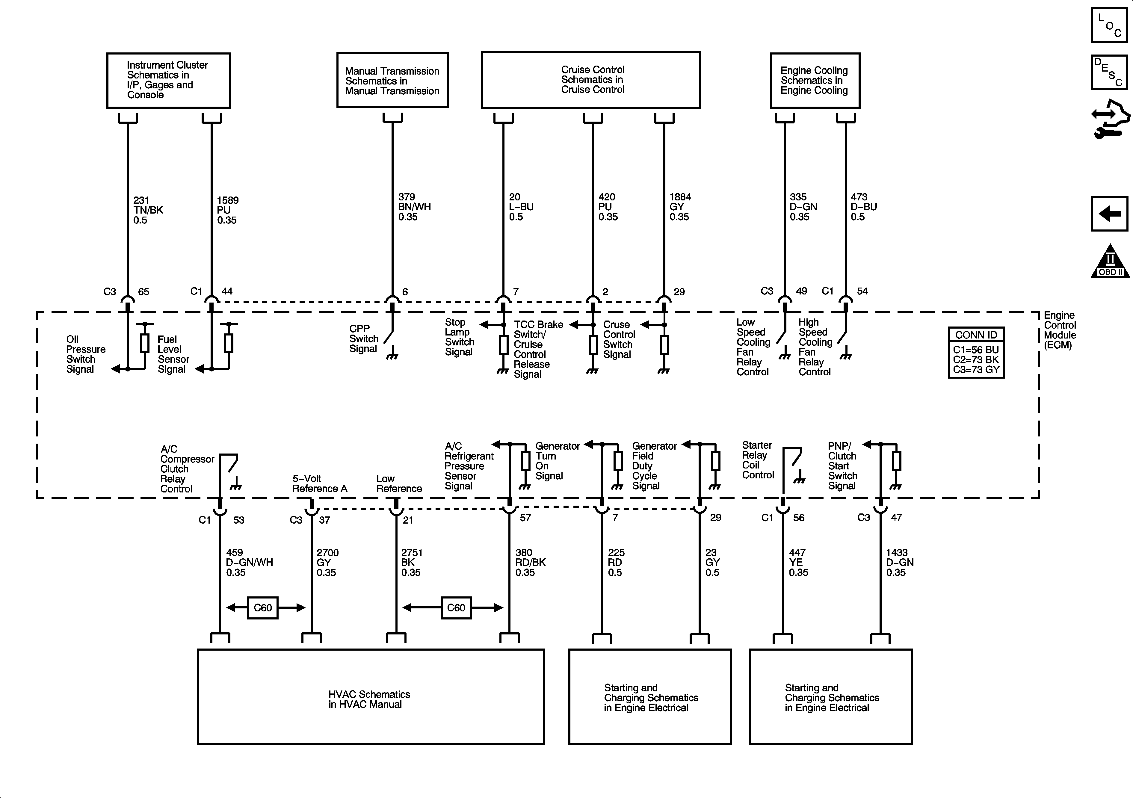
Master Electrical Component List
Engine Control Module Description
Control Module References
EVAP Controls
Engine Controls Schematic Icons
Fuel Level and Oil Pressure
Manual Transmission Schematics (M86)
Stop Lamp and Clutch Switches
06 A Sat-Engine Cooling 2.4L
A/C Compressor Controls (C60)
Charging
Starting