GM Service Manual Online
For 1990-2009 cars only
Makes
🢒
Saturn
🢒
2007
🢒
RELAY Ext.
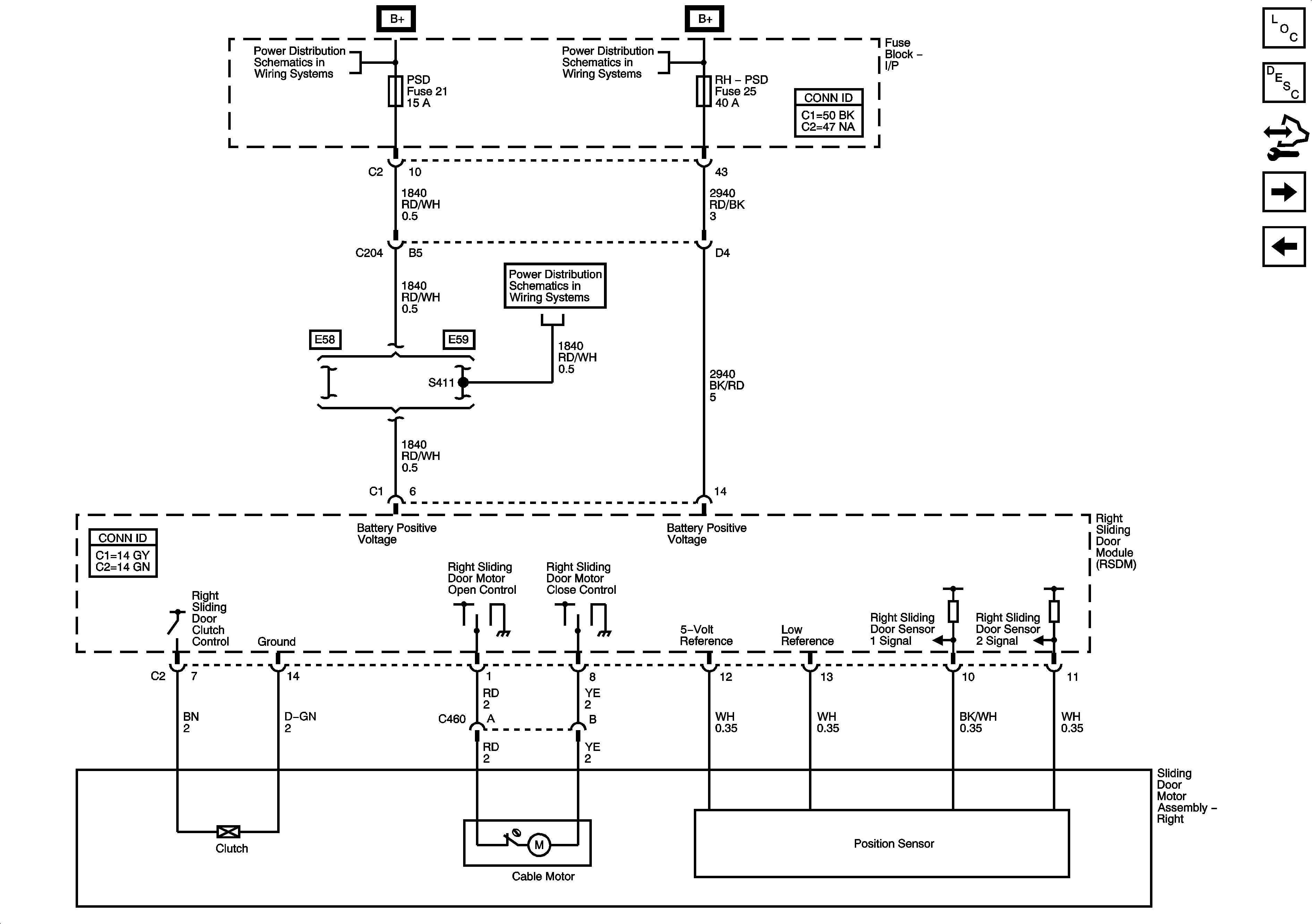
🢒 Right Door Motor
Right Door Motor
Right Door Motor
Master Electrical Component List
Power Sliding Door (PSD) Description and Operation
Control Module References
Left Door Controls
Right Door Controls
CHMSL BCK/UP, PRK LAMP, PSD, and RFA MDLS Fuses
BATT MAIN 2, HTD/SEATS, LH-PSD, PWR MIR, RH-PSD, Sit-N-Lift Seat, and STOP/TRN Fuses, PWR SEATS and Sit-N-Lift Circuit Breaker
CHMSL BCK/UP, PRK LAMP, PSD, and RFA MDLS Fuses