GM Service Manual Online
For 1990-2009 cars only
Makes
🢒
Buick
🢒
2007
🢒
Allure
🢒 Inside Rearview Mirror
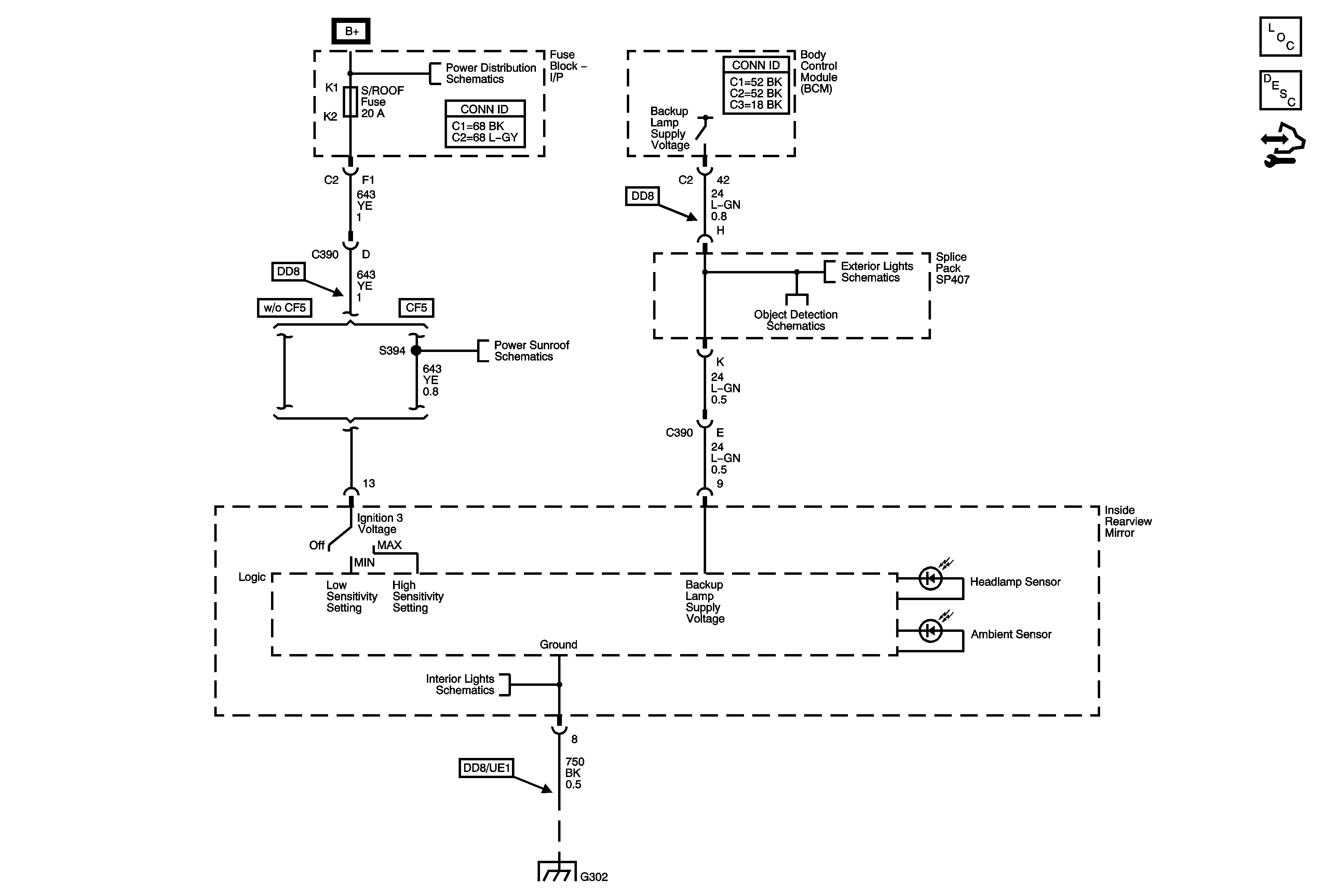
Inside Rearview Mirror
Master Electrical Component List
Automatic Day-Night Mirror Description and Operation
Control Module References
Fuse Block - Underhood BATT MAIN 2 Fuse
Power Sunroof Schematics
Object Detection Schematics
Backup and License Lamps
Overhead Lighting
G301