GM Service Manual Online
For 1990-2009 cars only
Makes
🢒
Buick
🢒
2000
🢒
Century
🢒 Outputs
Outputs
Outputs
HVAC Components
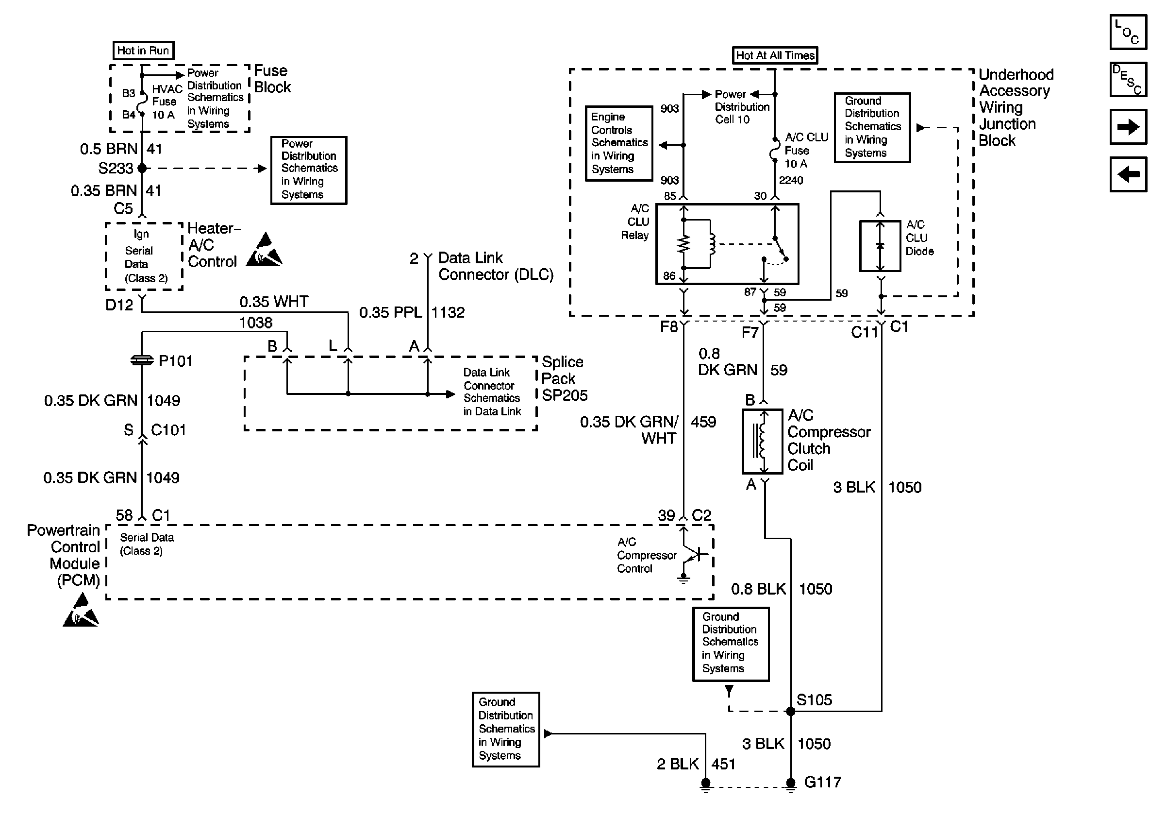
HVAC Compressor Controls Circuit Description
Inputs
Inputs and Serial Data
Low Blower, Cruise and HVAC Fuses
Low Blower, Cruise and HVAC Fuses
DLC Schematic
A/C Pressure Switch, TPS, MAP, ECT and IAT
Ground G117
Ground G117
Ground G117