GM Service Manual Online
For 1990-2009 cars only
Makes
🢒
Buick
🢒
2000
🢒
LeSabre
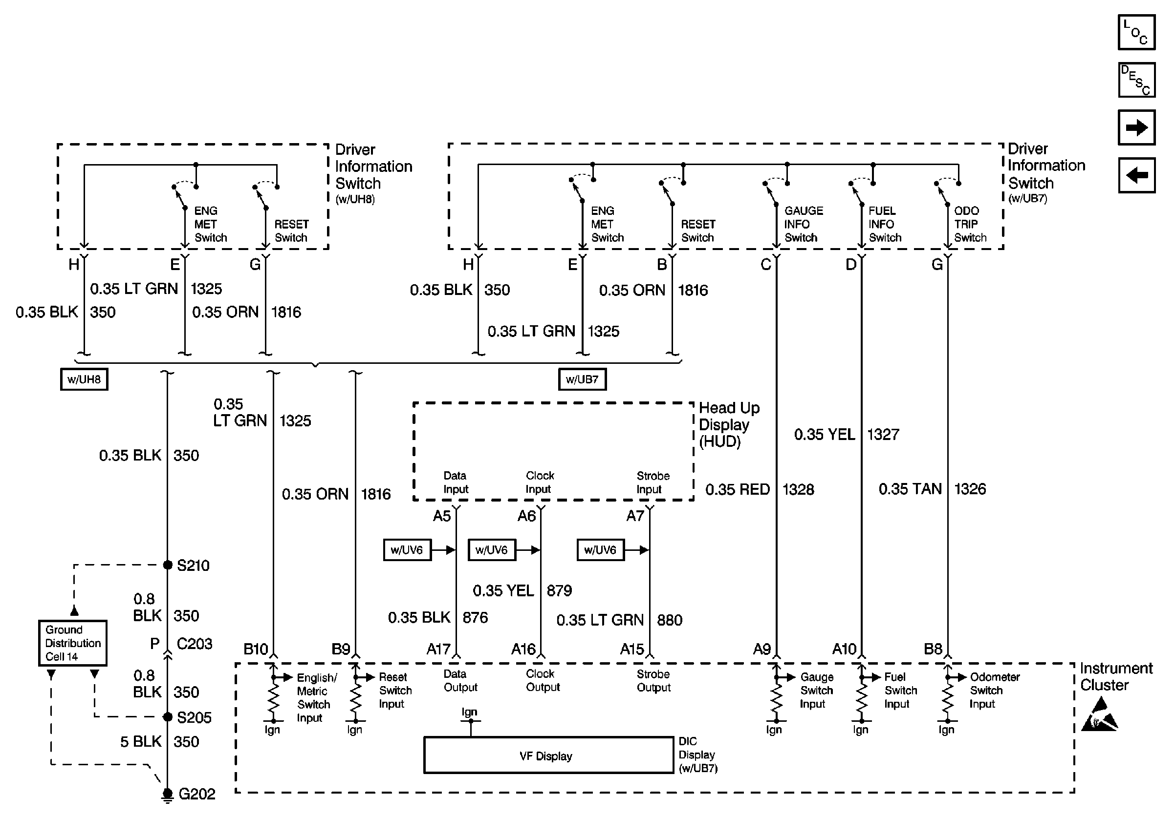
🢒 Cell 81: Driver Information and Head Up Display
Cell 81: Driver Information and Head Up Display
Cell 81: Driver Information and Head Up Display
Instrument Cluster and HUD Components
Instrument Cluster Description
Cell 81: Lamp, Security and Safety Belt Indicators
Cell 81: Temperature Gauge, Tachometer, Speedometer and Odometer
Cell 81: Power Distribution
Handling ESD Sensitive Parts Notice