GM Service Manual Online
For 1990-2009 cars only

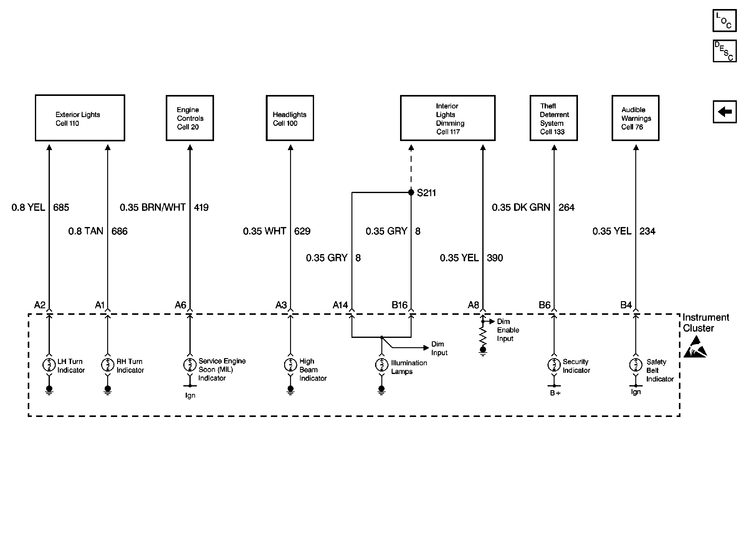
Cell 81: Lamp, Security and Safety Belt Indicators

Cell 81: Lamp, Security and Saftey Belt Indicators


Object Number: 313520  Size: FS
Instrument Cluster and HUD Components
Instrument Cluster Description
Cell 81: Driver Information and Head Up Display
Exterior Lights Schematics
Cell 100: Headlamp Dimmer, Park Gear Input, and High Beam Indicator
Cell 117: Instrument Cluster and Radio Backlighting; VF Dimming Control
Theft Deterrent System Schematics
Cell 76
Handling ESD Sensitive Parts Notice
Cell 20: MIL and Data Link Connector (DLC)