GM Service Manual Online
For 1990-2009 cars only

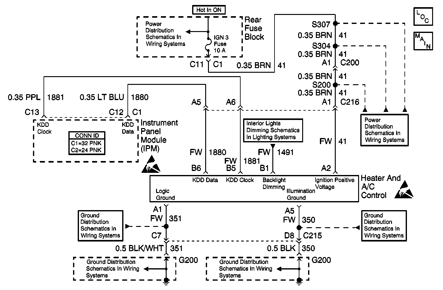
Object Number: 430177  Size: MF
HVAC Components
Heater AC Control W/CJ2
IGN3 and ABS Fuses (Rear Fuse Block)
IGN3 and ABS Fuses (Rear Fuse Block)
Instrument Panel and Console Dimming
Handling ESD Sensitive Parts Notice
Handling ESD Sensitive Parts Notice
G200 (1 of 2)
G200 (1 of 2)
G200 (1 of 3)
G200 (2 of 2)

Circuit Description

The instrument panel module (IPM) communicates with the heater and A/C control via the keyboard display driver (KDD) data bus. This communication link is only used by the IPM and the heater and A/C control.

Conditions for Running the DTC

The ignition is turned ON.

Conditions for Setting the DTC

    • There is a loss of communications between the IPM and the heater and A/C control.
    • The above conditions are present for 3 seconds.

Action Taken When the DTC Sets

The heater and A/C system will be disabled.

Conditions for Clearing the DTC

    • The DTC will become history if the IPM no longer detects a failure.
    • The history DTC will clear after 50 fault free ignition cycles.
    • The DTC can be cleared with a scan tool.

Test Description

The number(s) below refer to the step number(s) on the diagnostic table.

  1. This step verifies that the heater and A/C control is functioning, but not communicating with the IPM.

Step

Action

Value(s)

Yes

No

1

Did you perform the HVAC Diagnostic System Check?

--

Go to Step 2

Go to Diagnostic System Check

2

  1. Turn ON the ignition, with the engine OFF.
  2. Observe the display of the heater and A/C control.

Are all of the visual indicators illuminated and is the audible indicator ON?

--

Go to Step 7

Go to Step 3

3

  1. Turn ON the ignition, with the engine OFF.
  2. Observe the display of the heater and A/C control.

Is the display of the heater and A/C control blank?

--

Go to Step 5

Go to Step 4

4

  1. Turn ON the ignition, with the engine OFF.
  2. Observe the display of the heater and A/C control.

Does the heater and A/C control display only °C°F?

--

Go to Step 8

Go to Testing for Intermittent Conditions and Poor Connections

5

Notice: Refer to Test Probe Notice in the Preface section.

  1. Turn OFF the ignition.
  2. Disconnect the heater and A/C control.
  3. Turn ON the ignition, with the engine OFF.
  4. Probe the battery positive voltage circuit of the heater and A/C control with a test lamp that is connected to a good ground.

Does the test lamp illuminate?

--

Go to Step 6

Go to Step 10

6

Notice: Refer to Test Probe Notice in the Preface section.

Probe the battery positive voltage circuit of the heater and A/C control with a test lamp that is connected to the logic ground circuit of the heater and A/C control.

Does the test lamp illuminate?

--

Go to Step 15

Go to Step 11

7

Notice: Refer to Test Probe Notice in the Preface section.

  1. Turn OFF the ignition.
  2. Disconnect the heater and A/C control.
  3. Turn ON the ignition, with the engine OFF.
  4. Measure the voltage from the KDD data circuit to a good ground.

Does the voltage measure near the specified value?

1 Vdc

Go to Step 15

Go to Step 12

8

Notice: Refer to Test Probe Notice in the Preface section.

  1. Turn OFF the ignition.
  2. Disconnect the heater and A/C control.
  3. Turn ON the ignition, with the engine OFF.
  4. Measure the voltage from the KDD data circuit to a good ground.

Does the voltage measure near the specified value?

1 Vdc

Go to Step 9

Go to Step 13

9

Notice: Refer to Test Probe Notice in the Preface section.

Measure the frequency from the KDD clock circuit to a good ground.

Does the frequency measure near the specified value?

930 Hz

Go to Step 15

Go to Step 14

10

Notice: Refer to Test Probe Notice in the Preface section.

Repair the battery positive voltage circuit of the heater and A/C control for a short to ground, a high resistance, or an open. Refer to Circuit Testing and Wiring Repairs in Wiring Systems.

Did you find and correct the condition?

--

Go to Step 19

--

11

Notice: Refer to Test Probe Notice in the Preface section.

Repair the logic ground circuit of the heater and A/C control for a high resistance or an open. Refer to Circuit Testing and Wiring Repairs in Wiring Systems.

Did you find and correct the condition?

--

Go to Step 19

--

12

Notice: Refer to Test Probe Notice in the Preface section.

Test the KDD data circuit for a short to voltage or an open. Refer to Circuit Testing and Wiring Repairs in Wiring Systems.

Did you find and correct the condition?

--

Go to Step 19

Go to Step 16

13

Notice: Refer to Test Probe Notice in the Preface section.

Test the KDD data circuit for a short to ground. Refer to Circuit Testing and Wiring Repairs in Wiring Systems.

Did you find and correct the condition?

--

Go to Step 19

Go to Step 14

14

Notice: Refer to Test Probe Notice in the Preface section.

Test the KDD clock circuit for a short to voltage, a short to ground, or an open. Refer to Circuit Testing and Wiring Repairs in Wiring Systems.

Did you find and correct the condition?

--

Go to Step 19

Go to Step 16

15

Inspect for poor connections at the harness connector of the heater and A/C control. Refer to Testing for Intermittent Conditions and Poor Connections and Connector Repairs in Wiring Systems.

Did you find and correct the condition?

--

Go to Step 19

Go to Step 17

16

Inspect for poor connections at the harness connector of the IPM. Refer to Testing for Intermittent Conditions and Poor Connections and Connector Repairs in Wiring Systems.

Did you find and correct the condition?

--

Go to Step 19

Go to Step 18

17

Replace the heater and A/C control. Refer to Control Assembly Replacement .

Did you complete the replacement?

--

Go to Step 19

--

18

Replace the IPM. Refer to Instrument Panel Module Replacement in Body Control System.

Did you complete the replacement?

--

Go to Step 19

--

19

  1. Use the scan tool in order to clear the DTCs .
  2. Operate the vehicle within the Conditions for Running the DTC as specified in the supporting text.

Does the DTC reset?

--

Go to Step 2

System OK