GM Service Manual Online
For 1990-2009 cars only
Makes
🢒
Buick
🢒
2001
🢒
Regal (China)
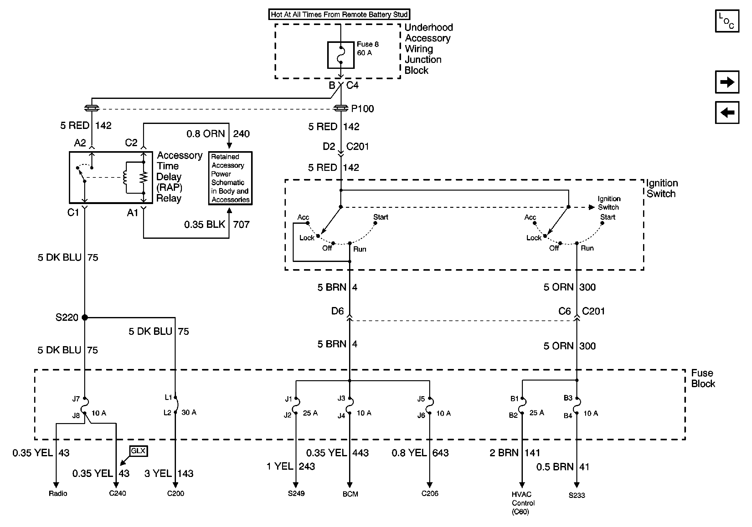
🢒 GLX: RAP Relay, UAWJB, Ignition Switch and Fuse Block
GLX: RAP Relay, UAWJB, Ignition Switch and Fuse Block
GLX: RAP Relay, UAWJB, Ignition Switch and Fuse Block
1 of 2
Fuse Block and Rear Lights
Fuse Block and Rear Lights
Fuse Block, Wiper/Washer, BCM and Radio Controls
Fuse Block and Rear Lights
Fuse Block and Rear Lights
Fuse Block and Rear Lights
Fuse Block and HVAC Components
Fuse Block and HVAC Components
Power and Grounding Components
GL: RAP Relay, UAWJB, Ignition Switch and Fuse Block
Battery, UAWJB and Fuse Block