GM Service Manual Online
For 1990-2009 cars only
Makes
🢒
Cadillac
🢒
2001
🢒
Catera
🢒 Ignition Controls - Sensors
Ignition Controls - Sensors
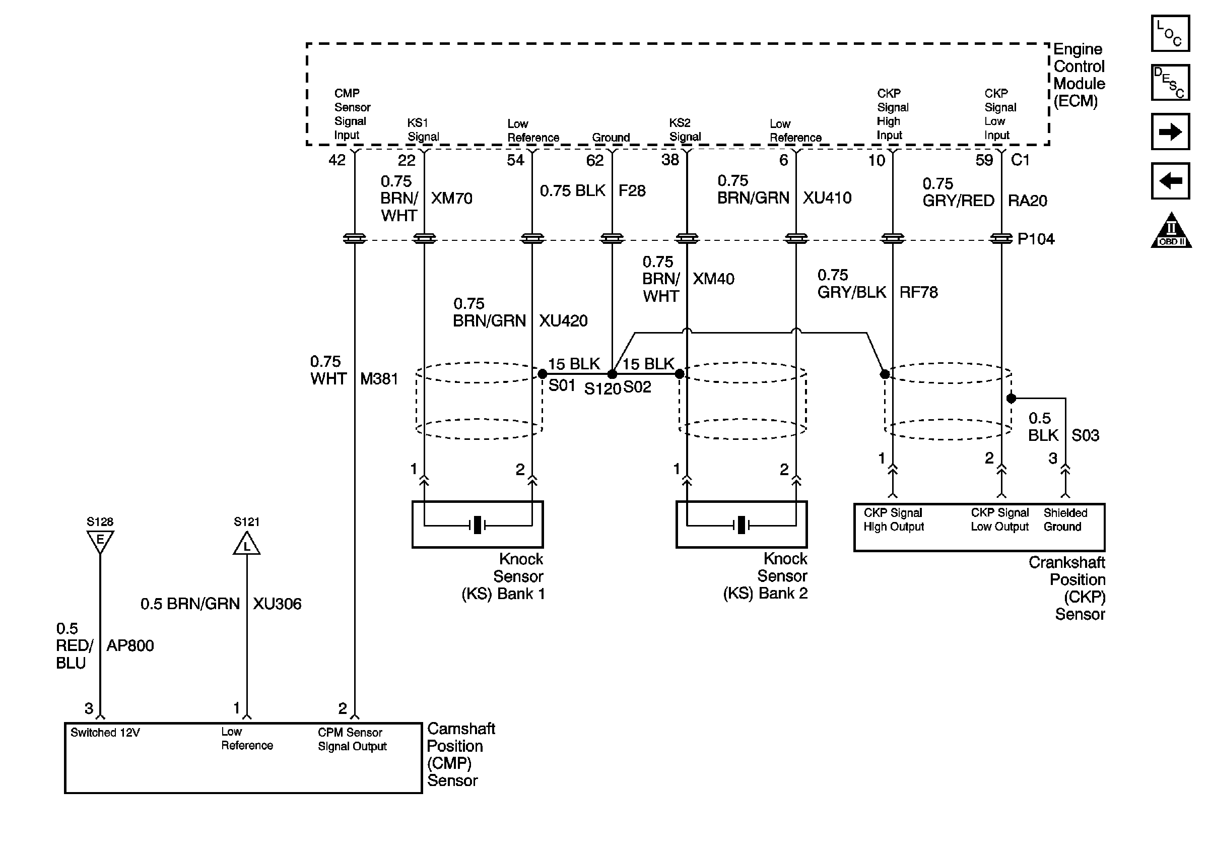
Camshaft Position, Crankshaft Position, and Knock Sensors
Master Electrical Component List
Electronic Ignition (EI) System Description
Fuel Controls - Fuel Pump
Ignition Controls - Ignition Coils
Engine Controls Schematic Icons
Engine Controls Power Relay
Engine Data Sensors - Pressure and Temperature