GM Service Manual Online
For 1990-2009 cars only
Makes
🢒
Cadillac
🢒
2001
🢒
Catera
🢒 Power, Ground, DLC (Base)
Power, Ground, DLC (Base)
Power, Ground, DLC - Base
Master Electrical Component List
Radio/Audio System Description and Operation
Base Speaker System
Underhood Fuse Block Fuse V5 and Fuse Block Fuses 6, 7, 20, and 25
Underhood Fuse Block Fuse V5 and Fuse Block Fuses 6, 7, 20, and 25
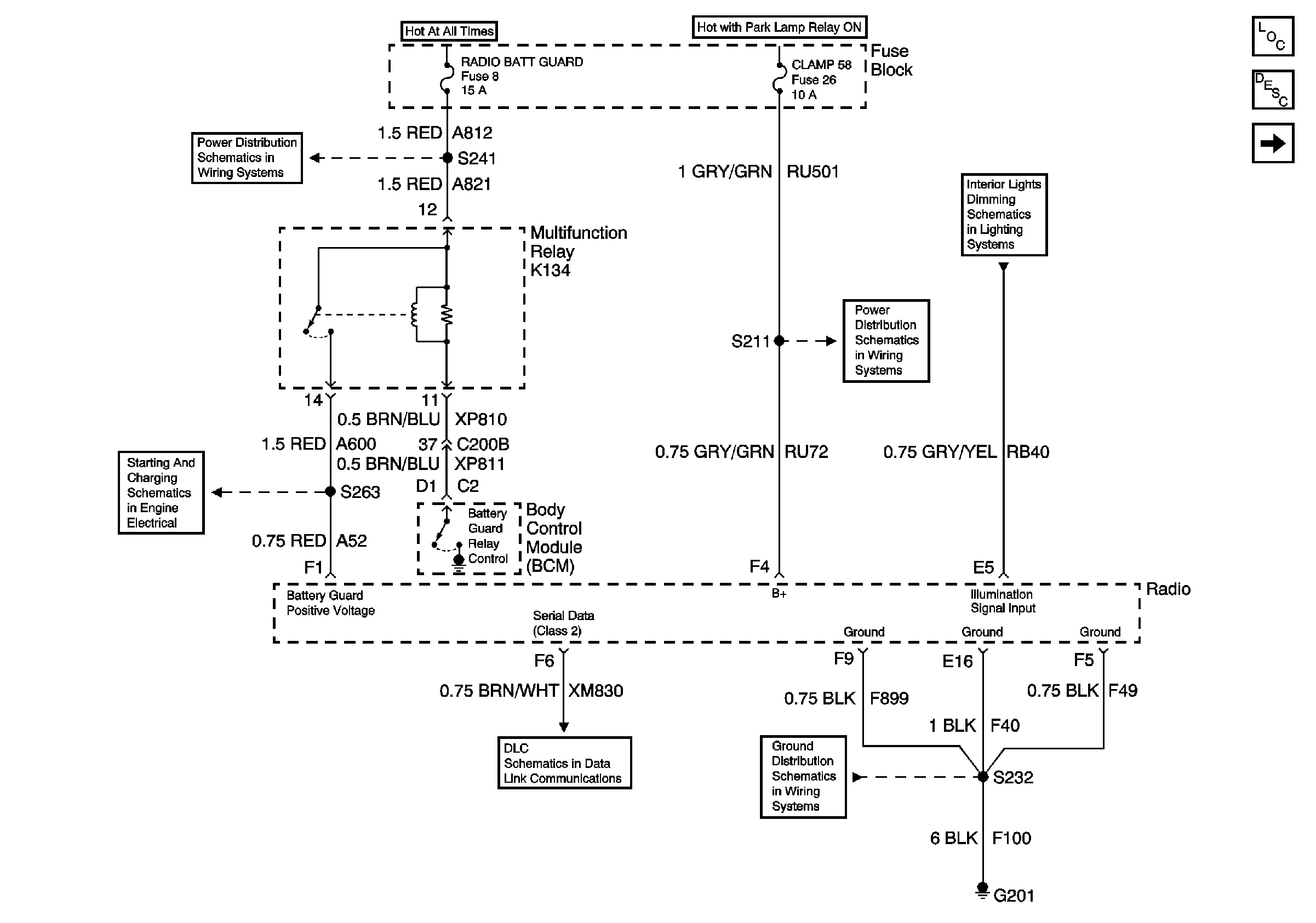
Fuse Block Fuses 1, 8, and 27
Fuse Block Fuse 26
Page 1 of 2
Inadvertant Power
DLC Pins 2, 4, 5, 16
G201