GM Service Manual Online
For 1990-2009 cars only
Makes
🢒
Cadillac
🢒
2002
🢒
DeVille
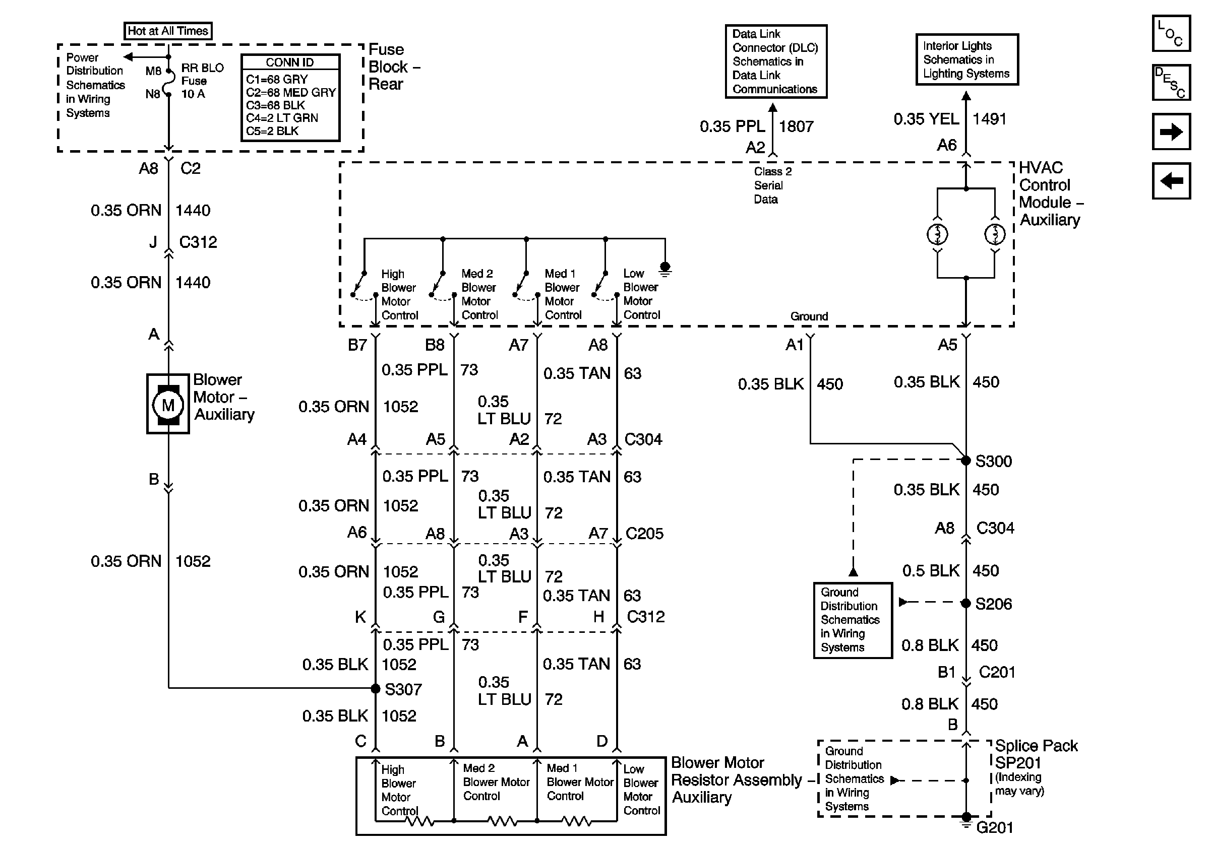
🢒 Rear Blower Motor-DTS
Rear Blower Motor-DTS
Rear Blower Motor-DTS
Master Electrical Component List
Air Temperature Description and Operation
HVAC Compressor Control
Rear Blower Motor-Deville/DHS
G200
G201 2 of 3
RR BLO, RR DR MDL, HVAC, Stop LP, IGN SW, and TSIG/HAZ Fuses
Class 2 Serial Data (1 of 3)
Steering Wheel Controls