GM Service Manual Online
For 1990-2009 cars only
Makes
🢒
Cadillac
🢒
2002
🢒
DeVille
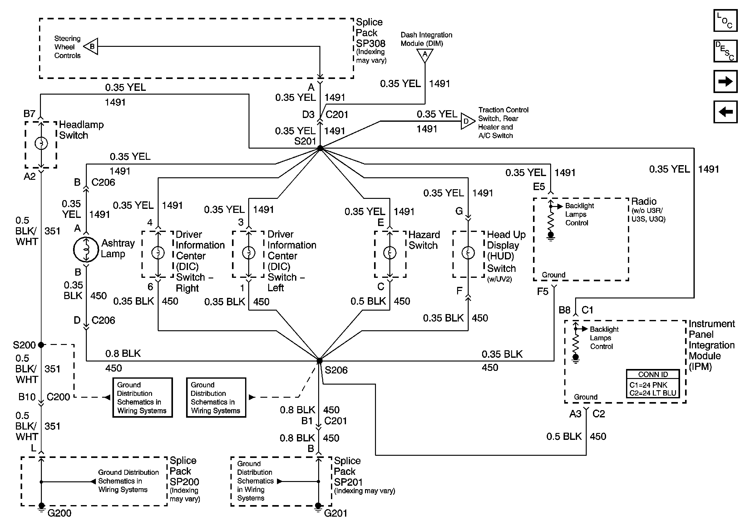
🢒 Instrument Panel Dimming
Instrument Panel Dimming
Instrument Panel Dimming
Master Electrical Component List
Interior Lighting Systems Description and Operation
Steering Wheel Controls
Dimming Control
G201 2 of 3
G201 2 of 3
G200
G200
Steering Wheel Controls
Dimming Control
Console Dimming