GM Service Manual Online
For 1990-2009 cars only
Makes
🢒
Cadillac
🢒
2005
🢒
DeVille
🢒 Rear Door Dimming
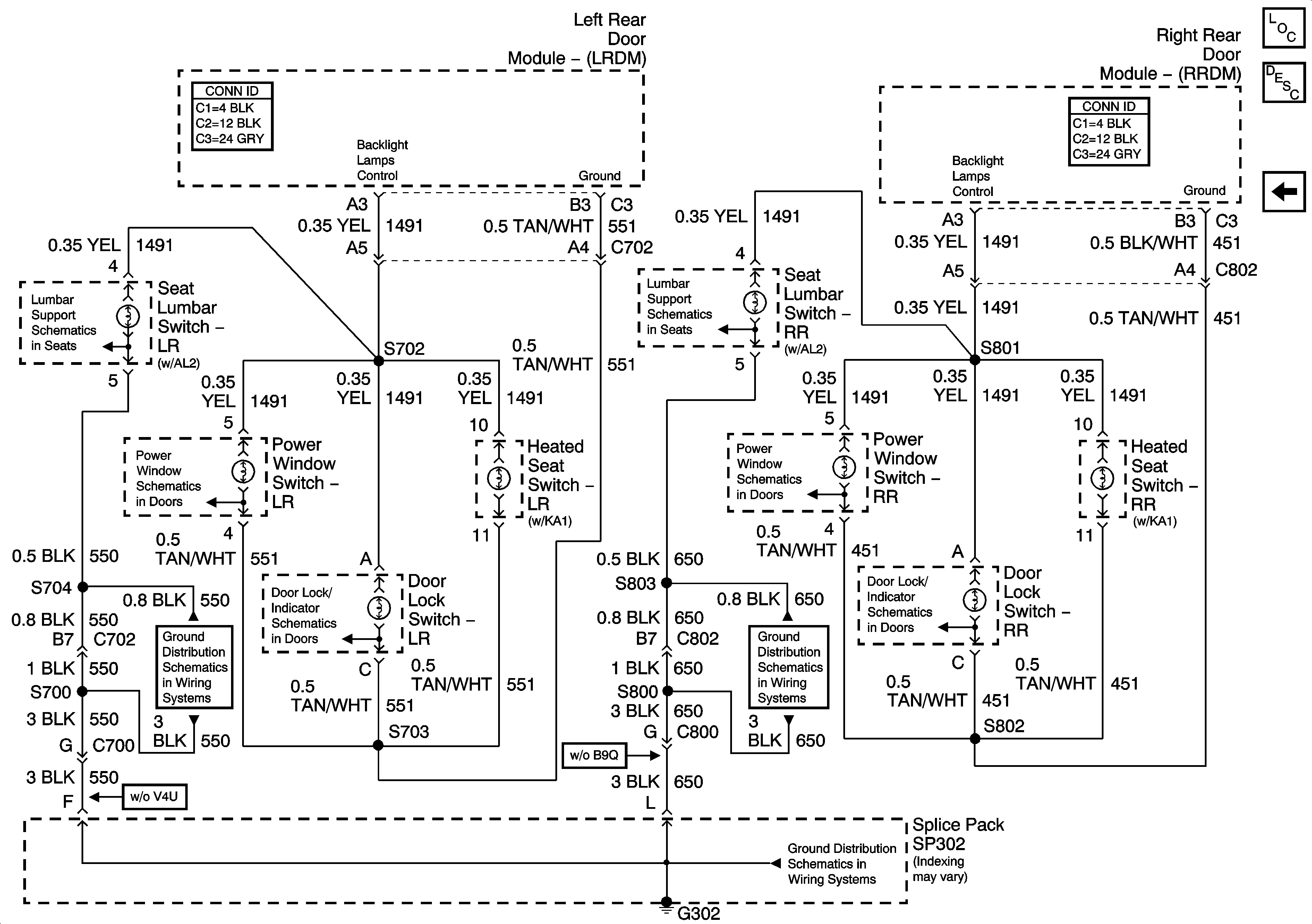
Rear Door Dimming
Rear Door Dimming
Master Electrical Component List
Interior Lighting Systems Description and Operation
Middle Door Dimming
Power Lumbar Seat
Power Lumbar Seat
Left Power Windows
Right Power Windows
Left Rear Door Power Door Lock
Right Rear Door Power Door Lock (w/o B9Q)
G302 - 3 of 3
G302 - 1 of 3
G302 - 1 of 3