GM Service Manual Online
For 1990-2009 cars only
Makes
🢒
Cadillac
🢒
2001
🢒
Eldorado
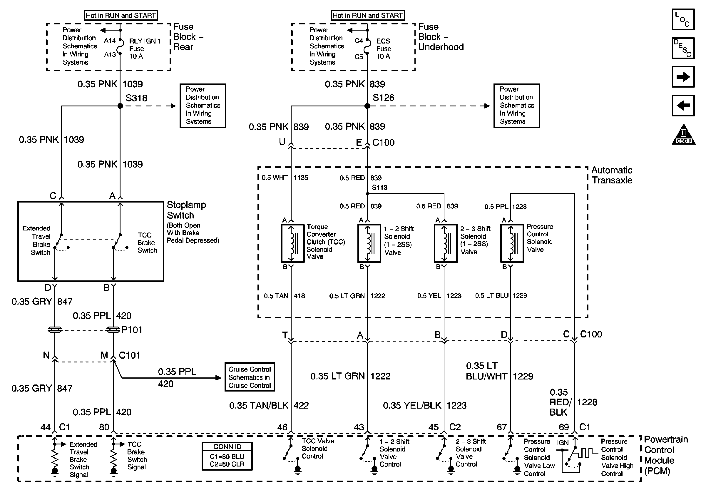
🢒 ABS/TCC Switch and Transaxle Solenoids
ABS/TCC Switch and Transaxle Solenoids
ABS/TCC Switch and Transaxle Solenoids
Master Electrical Component List
EBCM, Generator, A/C Relay and RSS
Transaxle Sensors and TR Switch
OBD II Symbol Description Notice
Cruise Control Multifunction Lever
LAMPS and IGN 1 Fuses
RLY IGN 1 Fuse
BATT 2 Fuse and Ignition Switch (2 of 2)
OXY SEN 1, OXY SEN 2, FUEL PUMP, ECS Fuses and FUEL PUMP Relay