GM Service Manual Online
For 1990-2009 cars only
Makes
🢒
Cadillac
🢒
2002
🢒
Escalade EXT
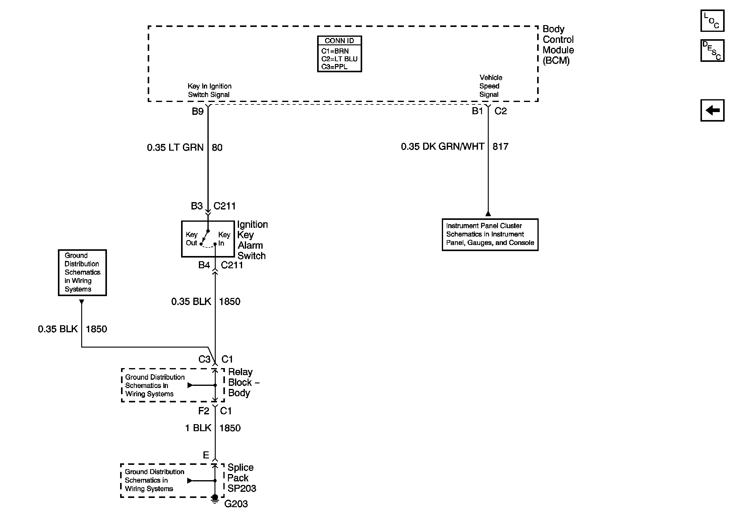
🢒 Body Control Module (BCM)
Body Control Module (BCM)
BCM Controls
Master Electrical Component List
Power Door Locks Description and Operation
Actuators
G203 - 3 of 4
G203 - 1 of 4
Gages, VSS, and Engine Oil Signals