GM Service Manual Online
For 1990-2009 cars only
Makes
🢒
Cadillac
🢒
2002
🢒
Escalade EXT
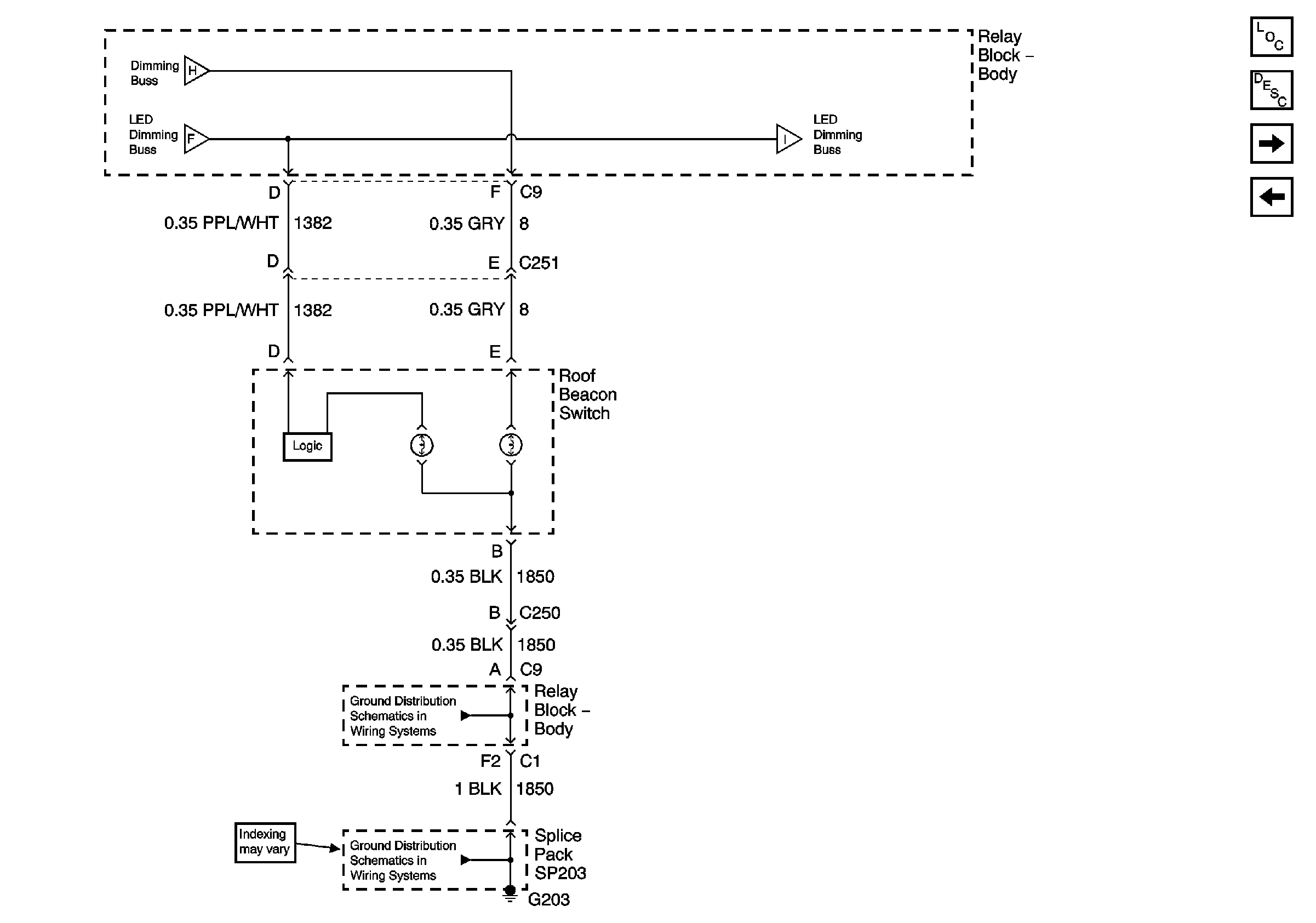
🢒 Roof Beacon Switch
Roof Beacon Switch
Roof Beacon Switch
Master Electrical Component List
Interior Lighting Systems Description and Operation
Radio, CD Player, and HVAC Control Module
Power Folding Mirror Switch, Analog Clock and Steering Wheel Controls
Power Folding Mirror Switch, Analog Clock and Steering Wheel Controls
LED Dimming Control, IPC, Cargo/Fog Lamp Switch and DIC
RPA and Vehicle Stability Switches
G203 - 3 of 4
G203 - 1 of 4