GM Service Manual Online
For 1990-2009 cars only
Makes
🢒
Cadillac
🢒
2003
🢒
Escalade EXT
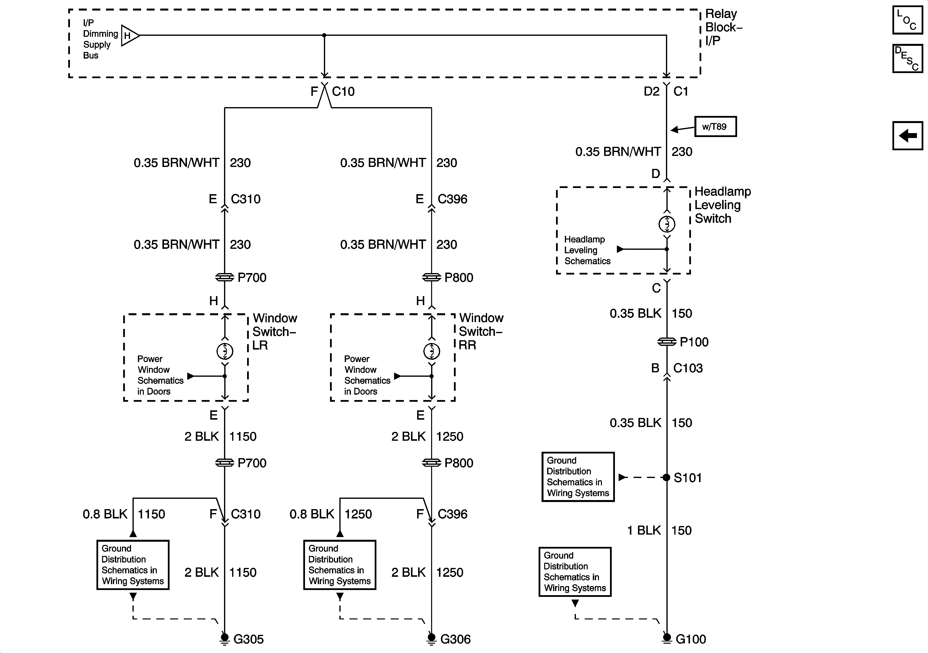
🢒 I/P Dimming Supply Voltage - 7 of 7
I/P Dimming Supply Voltage - 7 of 7
I/P Dimming Supply Voltage - 7 of 7
Master Electrical Component List
Interior Lighting Systems Description and Operation
I/P Dimming Supply Voltage - 6 of 7
I/P Dimming Supply Voltage - 5 of 7
Left Doors
Right Doors
G304, G305
G306
Headlight Leveling Schematics
S101 - Export
G100, G101, G105, G106