GM Service Manual Online
For 1990-2009 cars only
Makes
🢒
Cadillac
🢒
2003
🢒
Escalade EXT
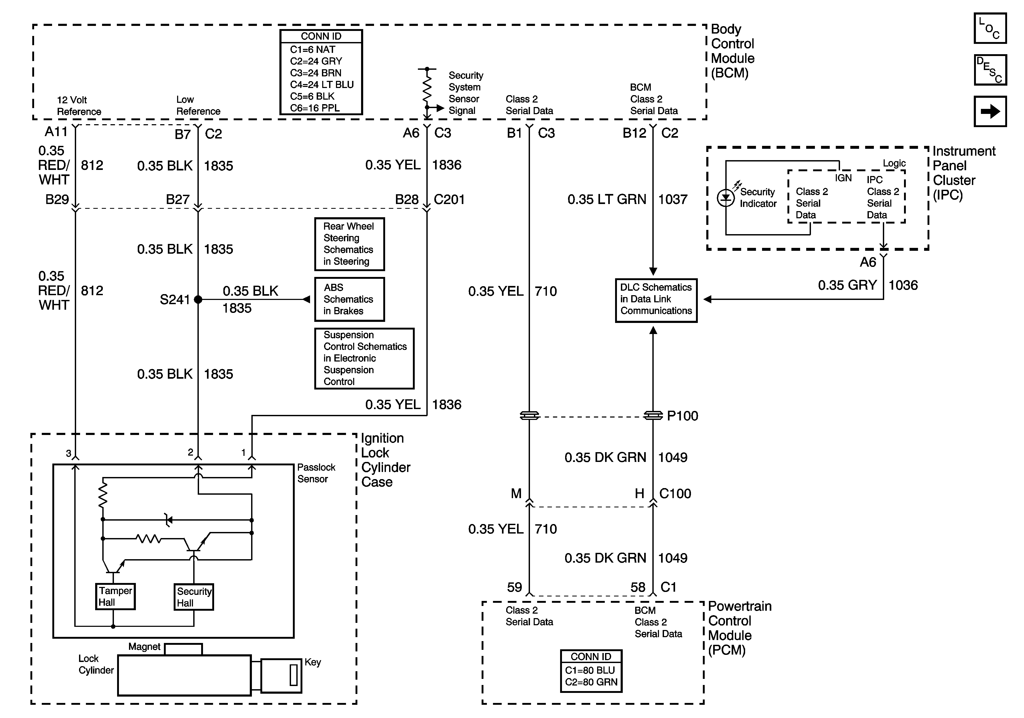
🢒 Passlock Sensor Inputs and Class 2
Passlock Sensor Inputs and Class 2
Passlock Sensor Inputs and Class 2
Master Electrical Component List
Theft Systems Description and Operation
Front Door Switches
Mode Select Inputs
Yaw and Lateral Acceleration Sensor Inputs
Steering Wheel Speed/Position Sensor Inputs
SP205 - 2 of 2