GM Service Manual Online
For 1990-2009 cars only
Makes
🢒
Cadillac
🢒
2004
🢒
Escalade EXT
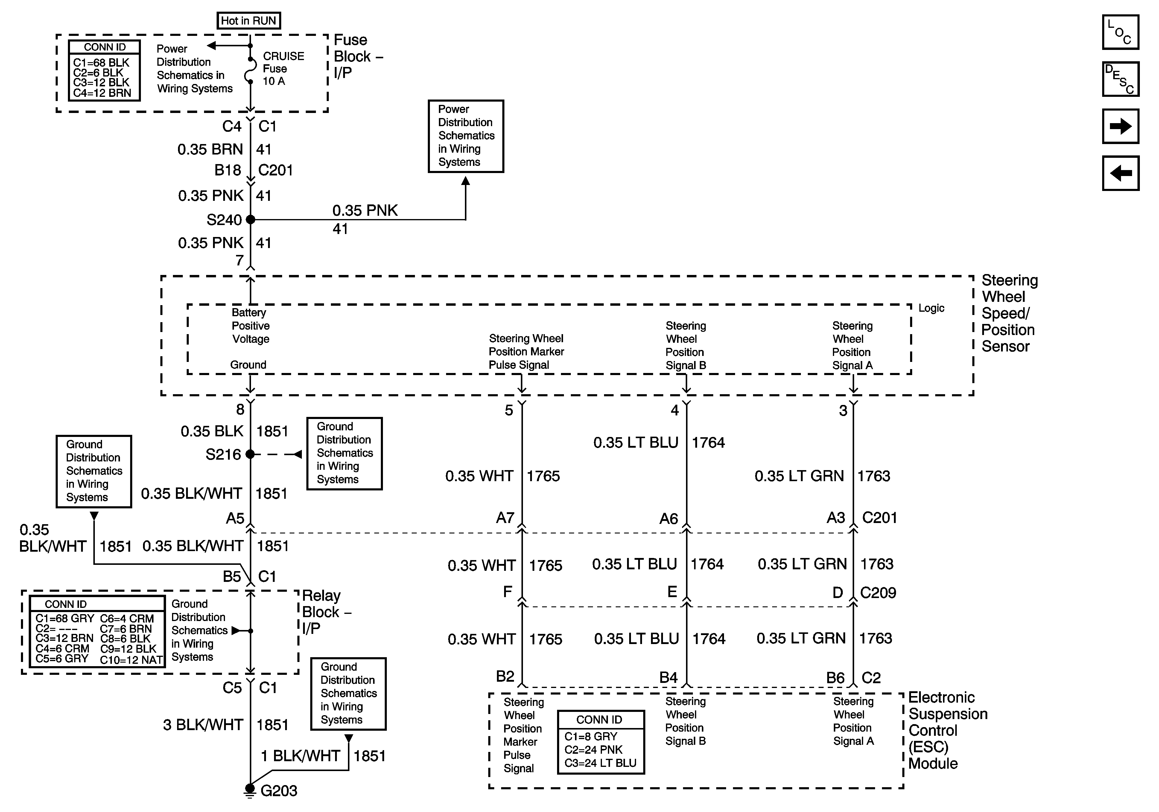
🢒 Steering Wheel Speed/Position Sensor Inputs
Steering Wheel Speed/Position Sensor Inputs
Steering Wheel Speed/Position Sensor Inputs
Master Electrical Component List
Electronic Suspension Control Description and Operation
Suspension Position Sensors
Power, Ground, and Serial Data
Ignition Switch - START, and RUN Bus Bars
BRAKE, HTR/AC, HVAC I, CRUISE, 4WD Fuses
G203 - 2 of 3
G203 - 3 of 3
G203 - 1 of 3