GM Service Manual Online
For 1990-2009 cars only
Makes
🢒
Cadillac
🢒
2007
🢒
Escalade EXT
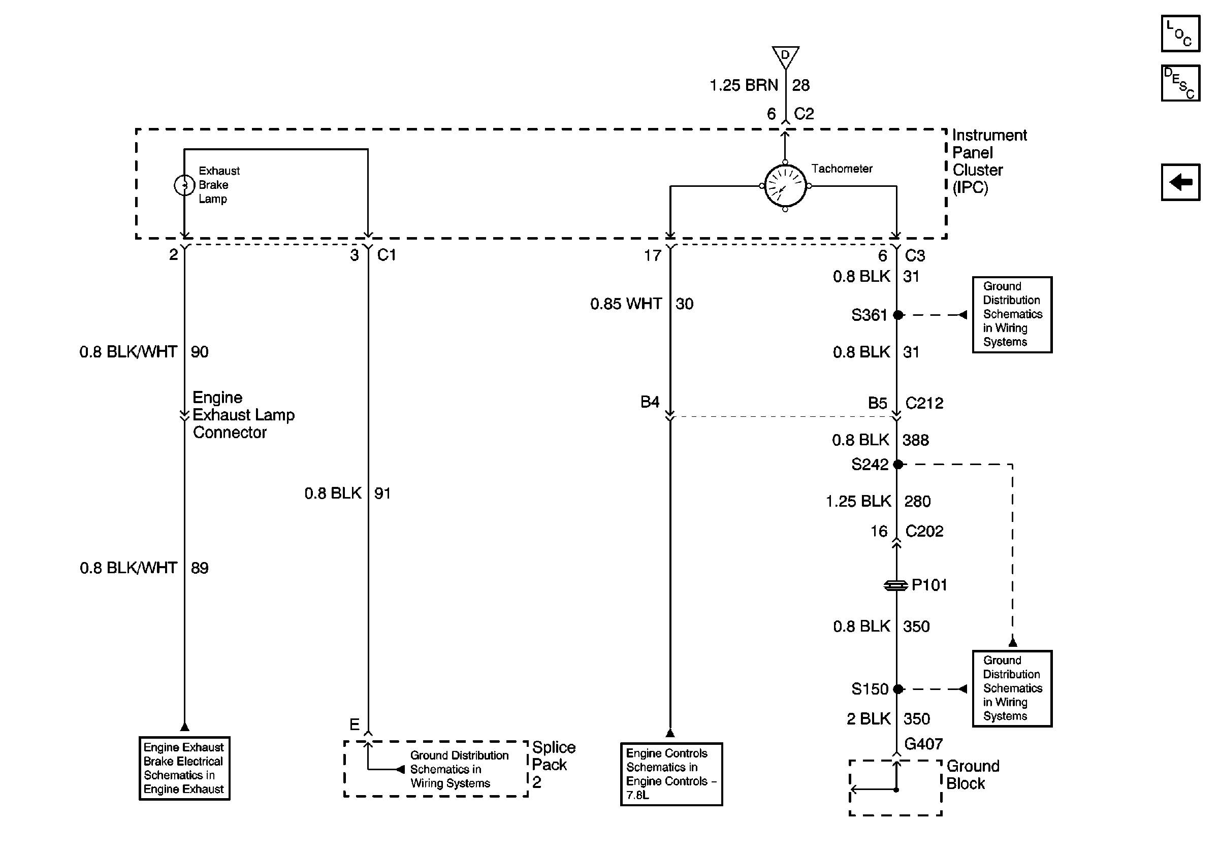
🢒 Exhaust Brake, Air Susp Dump Lamps and Tachometer (LG4)
Exhaust Brake, Air Susp Dump Lamps and Tachometer (LG4)
Exhaust Brake, Air Susp Dump Lamps and Tachometer (LG4)
Master Electrical Component List
Indicator/Warning Message Description and Operation
DRL, Service Trans Filter, Low Coolant, Oil Filter, Bat, High Beam and Service Engine Soon Lamps
Fuse Voltage Supply
G105 Continued, Splice Pack 2
LG4
G403, G409, S108, S120, S121, S122, S137, S150, S190, S242, S412
Instrument Panel Cluster (IPC)
G105 Continued, Splice Pack 3, S361