GM Service Manual Online
For 1990-2009 cars only
Makes
🢒
Cadillac
🢒
2007
🢒
Escalade EXT
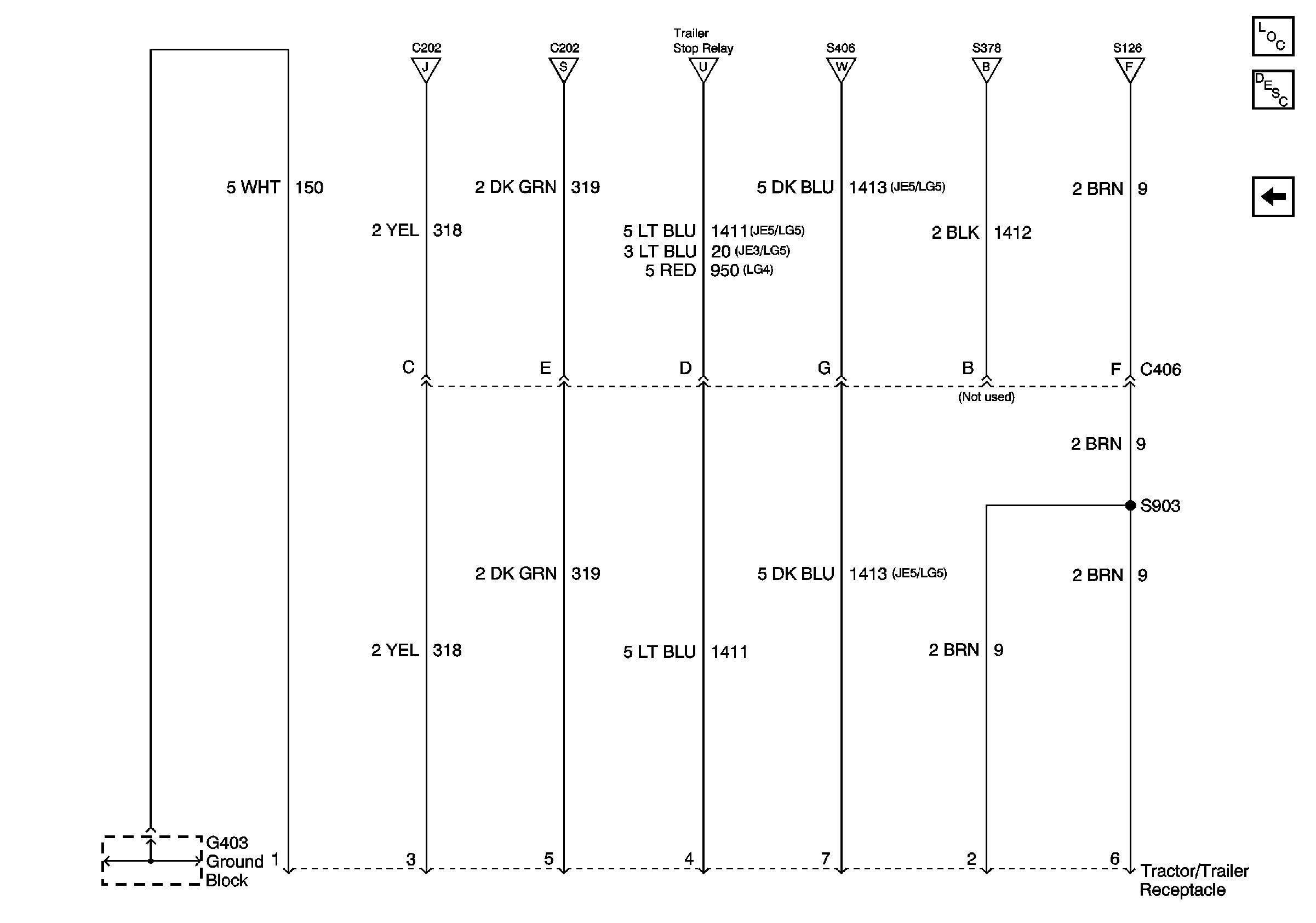
🢒 Lighting System Schematics - Tractor/Trailer Receptacle
Lighting System Schematics - Tractor/Trailer Receptacle
Trailer Wiring
Master Electrical Component List
Exterior Lighting Systems Description and Operation
Lighting System Schematics - Outside Rearview Mirrors Lamps
Lighting System Schematics - TRN Trailer RLY, MF SW and TRN SG Haz FL
Lighting System Schematics - TRN Trailer RLY, MF SW and TRN SG Haz FL
Lighting System Schematics - Trailer STP LP RLY, Back UP SW, ABS RLY
Lighting System Schematics - Trailer STP LP RLY, Back UP SW, ABS RLY
Lighting System Schematics - Marker and Tail LP Rly,Multifunction SW
Lighting System Schematics - Marker and Tail LP Rly,Multifunction SW