GM Service Manual Online
For 1990-2009 cars only
Makes
🢒
Cadillac
🢒
1999
🢒
Seville
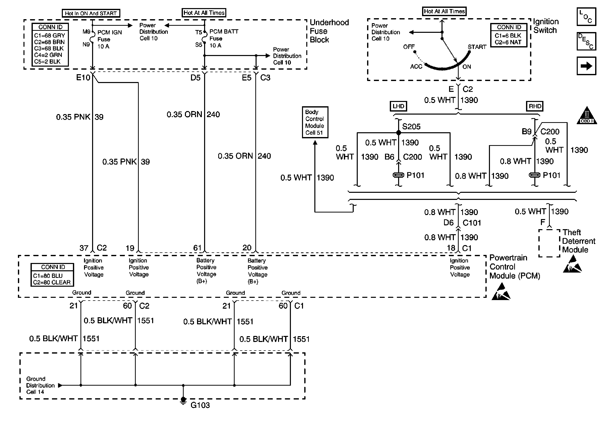
🢒 Cell 20: PCM Power and Grounds
Cell 20: PCM Power and Grounds
Cell 20: PCM Power and Grounds
Engine Controls Components
Information Sensors/Switches Description
Cell 20: MIL Control and DLC
OBD II Symbol Description Notice
Cell 51: DIM Ignition Inputs
Powertrain Control Module Connector End Views
Handling ESD Sensitive Parts Notice
Cell 10: Ignition Switch
Power Distribution Schematics
Cell 14: G102 and G103
Tilt Wheel/Column Connector End Views
Power and Grounding Connector End Views
Powertrain Control Module Connector End Views