GM Service Manual Online
For 1990-2009 cars only
Makes
🢒
Cadillac
🢒
2000
🢒
Seville
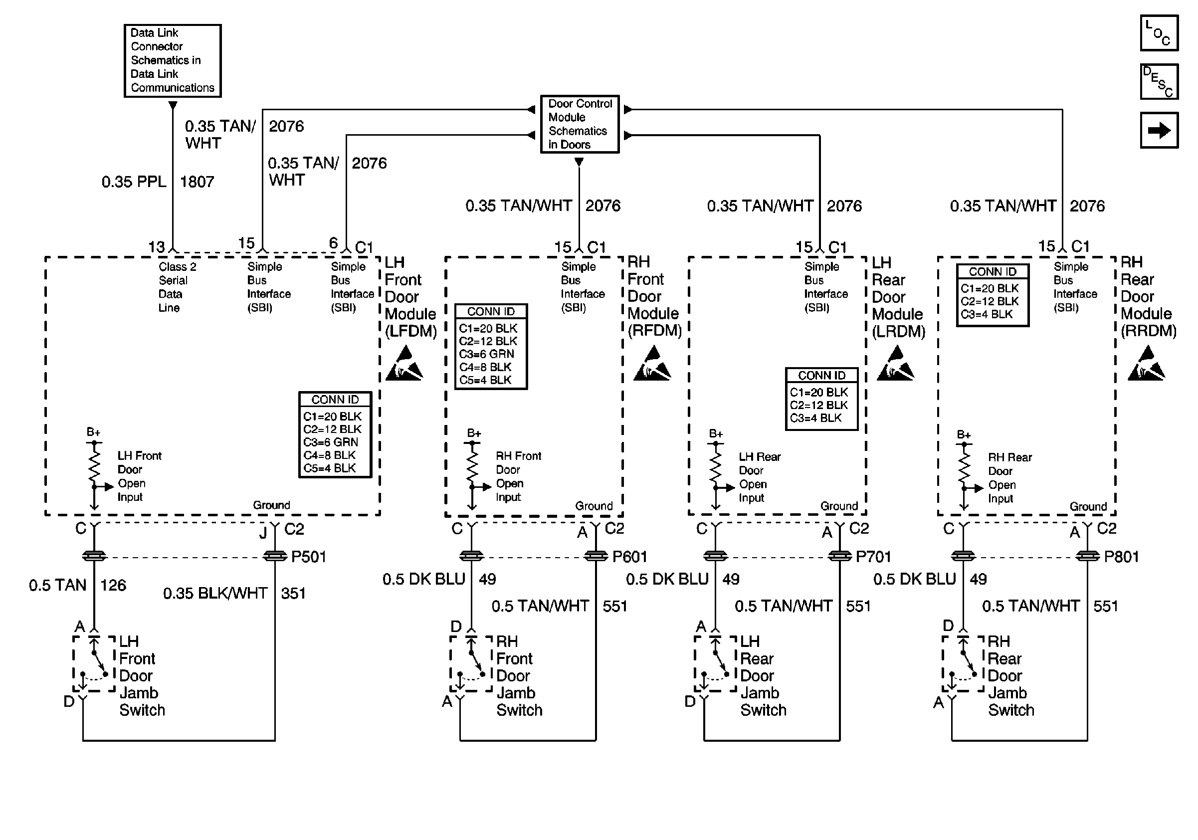
🢒 Door Jamb Switches
Door Jamb Switches
Door Jamb Switches
Lighting Systems Components
Interior Lights Circuit Description
Interior Lamp Relays
Class 2 Serial Data Line (RH Drive)
SBI
Handling ESD Sensitive Parts Notice
Handling ESD Sensitive Parts Notice
Handling ESD Sensitive Parts Notice
Handling ESD Sensitive Parts Notice