GM Service Manual Online
For 1990-2009 cars only
Makes
🢒
Cadillac
🢒
2000
🢒
Seville
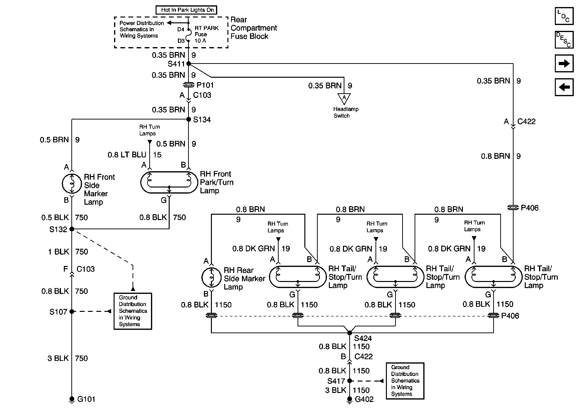
🢒 RH Park Lamps
RH Park Lamps
RH Park Lamps
Lighting Systems Components
Exterior Lights Circuit Description
Turn Signal Flasher, Hazard Flasher, and Stoplamp/AT Shift Lock CONTrOL Switch
LH Park Lamps
BODY 1 Fuse
Turn Lamps
G101
Turn Lamps
Turn Lamps
Headlamp Switch and Park Lamp Control
Turn Lamps
G402