GM Service Manual Online
For 1990-2009 cars only
Makes
🢒
Chevrolet
🢒
2001
🢒
Astro - 2WD
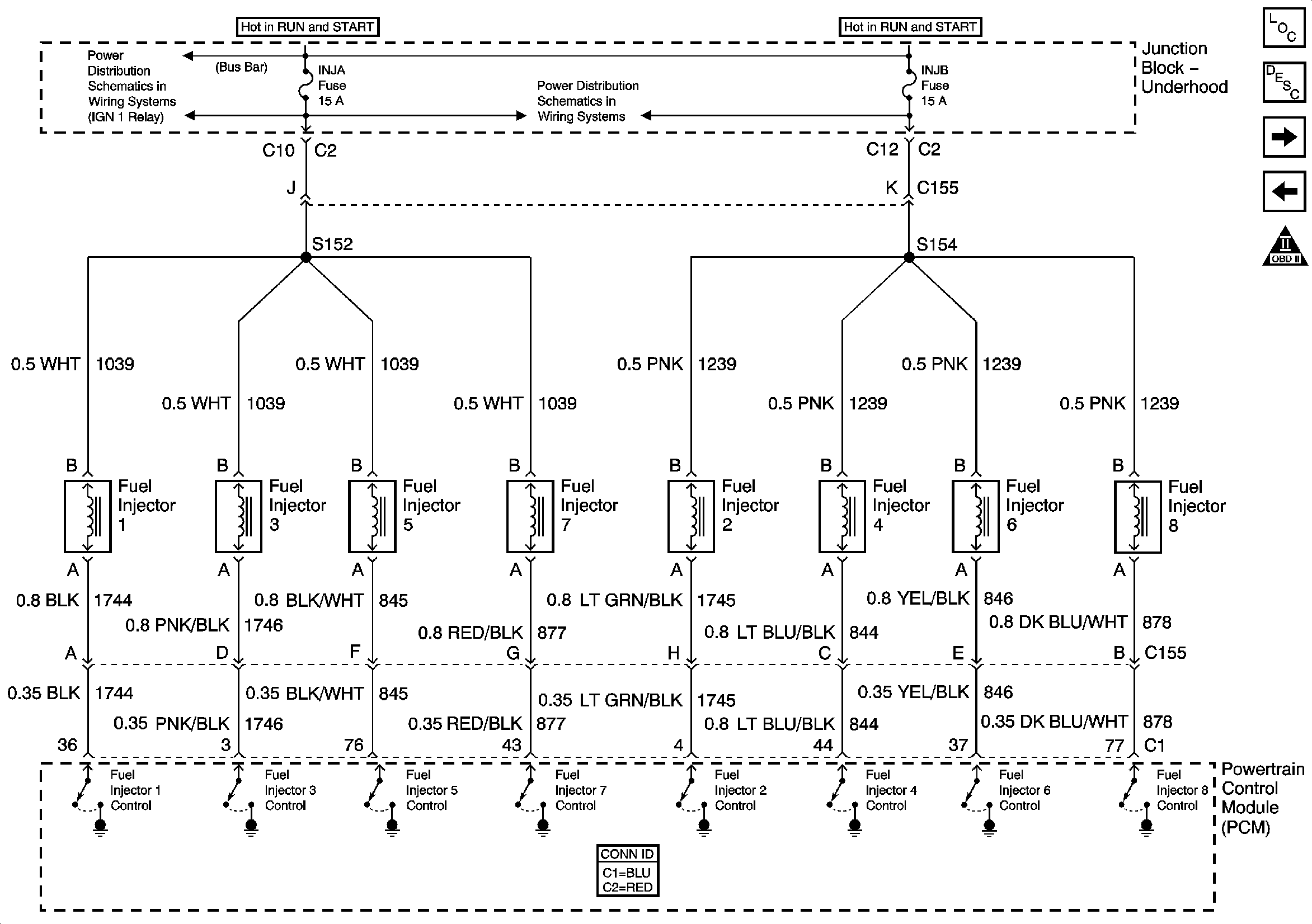
🢒 INJ B Fuse, INJ A Fuse, Fuel Injectors, and PCM
INJ B Fuse, INJ A Fuse, Fuel Injectors, and PCM
INJ B Fuse, INJ A Fuse, Fuel Injectors, and PCM
Master Electrical Component List
Throttle Actuator Control (TAC) System Description
Secondary Air Injection (AIR)
Fuel Pump Relay, Fuel Tank Pressure Sensor, Primary and Secondary Fuel Pump and Sender Assemblies
OBD II Symbol Description Notice
IGN 1 Relay, and ECM 1, ETC, INJA, INJB Fuses - Gas
IGN 1 Relay, and ECM 1, ETC, INJA, INJB Fuses - Gas