GM Service Manual Online
For 1990-2009 cars only
Makes
🢒
Chevrolet
🢒
2002
🢒
Astro - 2WD
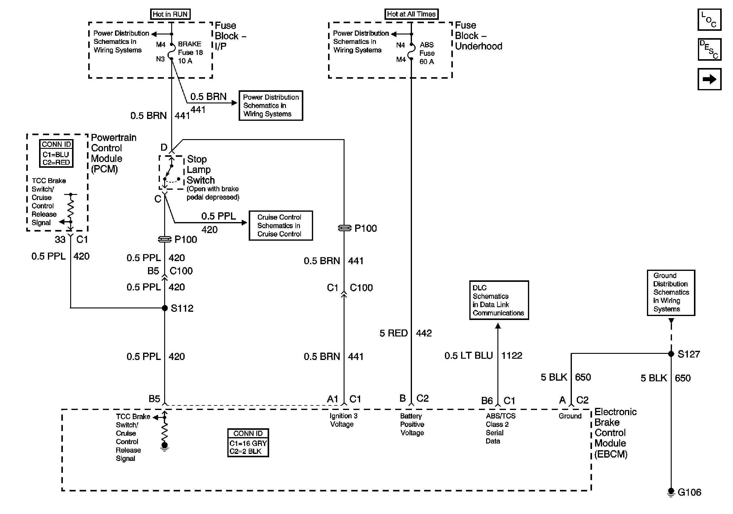
🢒 EBCM Power, Ground, and DLC
EBCM Power, Ground, and DLC
EBCM Power, Ground, and DLC
Master Electrical Component List
ABS Description and Operation
EBCM Ground Supply and Controls
IGN ACC and RUN
Battery and Fuse Block - Underhood
HTR-A/C, Brake, and Cruise Fuses
Cruise Control
Data Link Connector (DLC)
G100, G106, and G302