GM Service Manual Online
For 1990-2009 cars only
Makes
🢒
Chevrolet
🢒
2005
🢒
Astro - 2WD
🢒 Controlled/Monitored Subsystem References
Controlled/Monitored Subsystem References
Controlled/Monitored Subsystem References
Master Electrical Component List
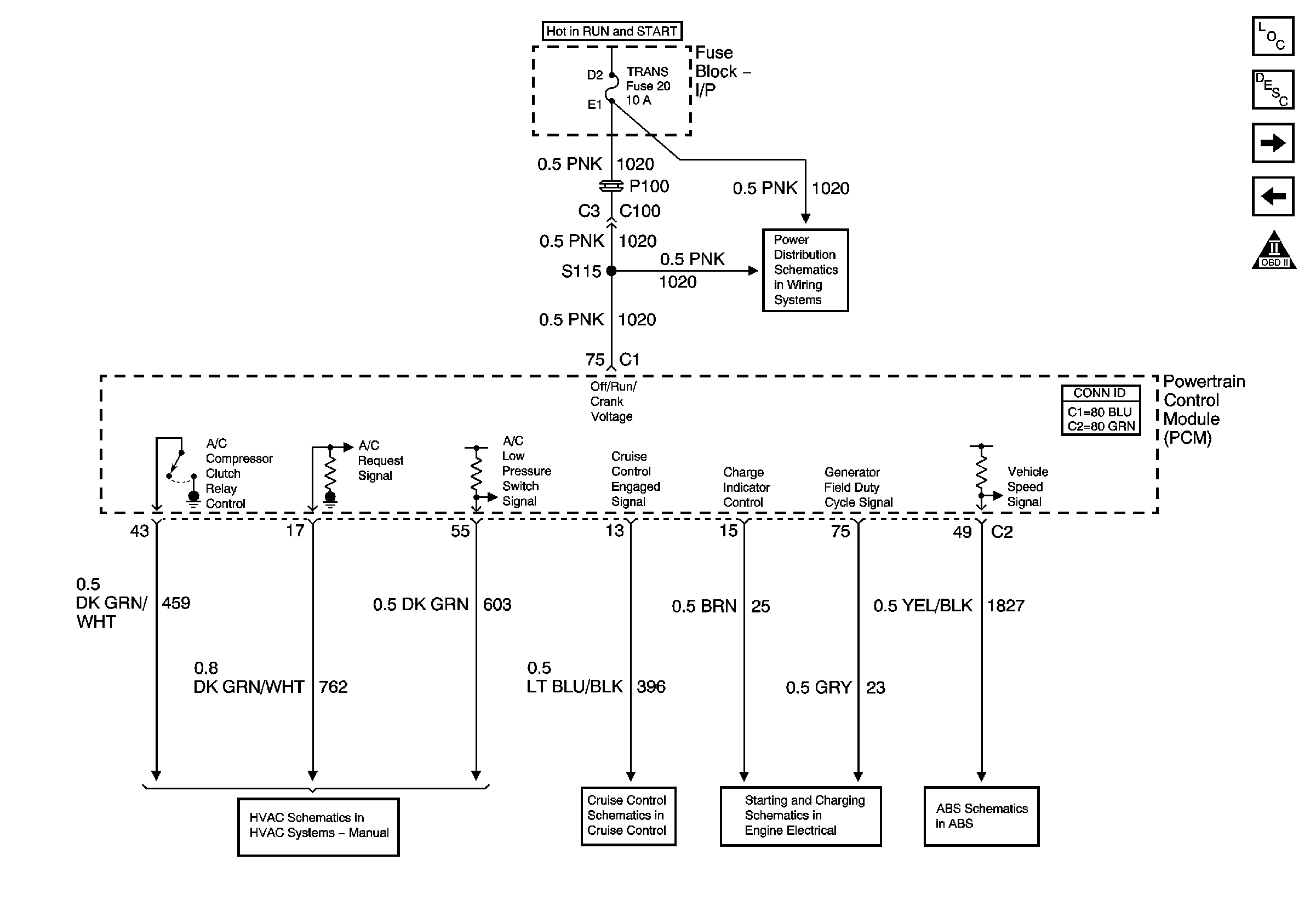
Powertrain Control Module Description
Transmission Controls - A/T
Fuel and Device Controls
OBD II Symbol Description Notice
TRANS, and WINDOWS Circuit Breaker
Compressor Controls
Cruise Control Schematics
Charging
EBCM Controls