GM Service Manual Online
For 1990-2009 cars only
Makes
🢒
Chevrolet
🢒
2001
🢒
Blazer - 2WD
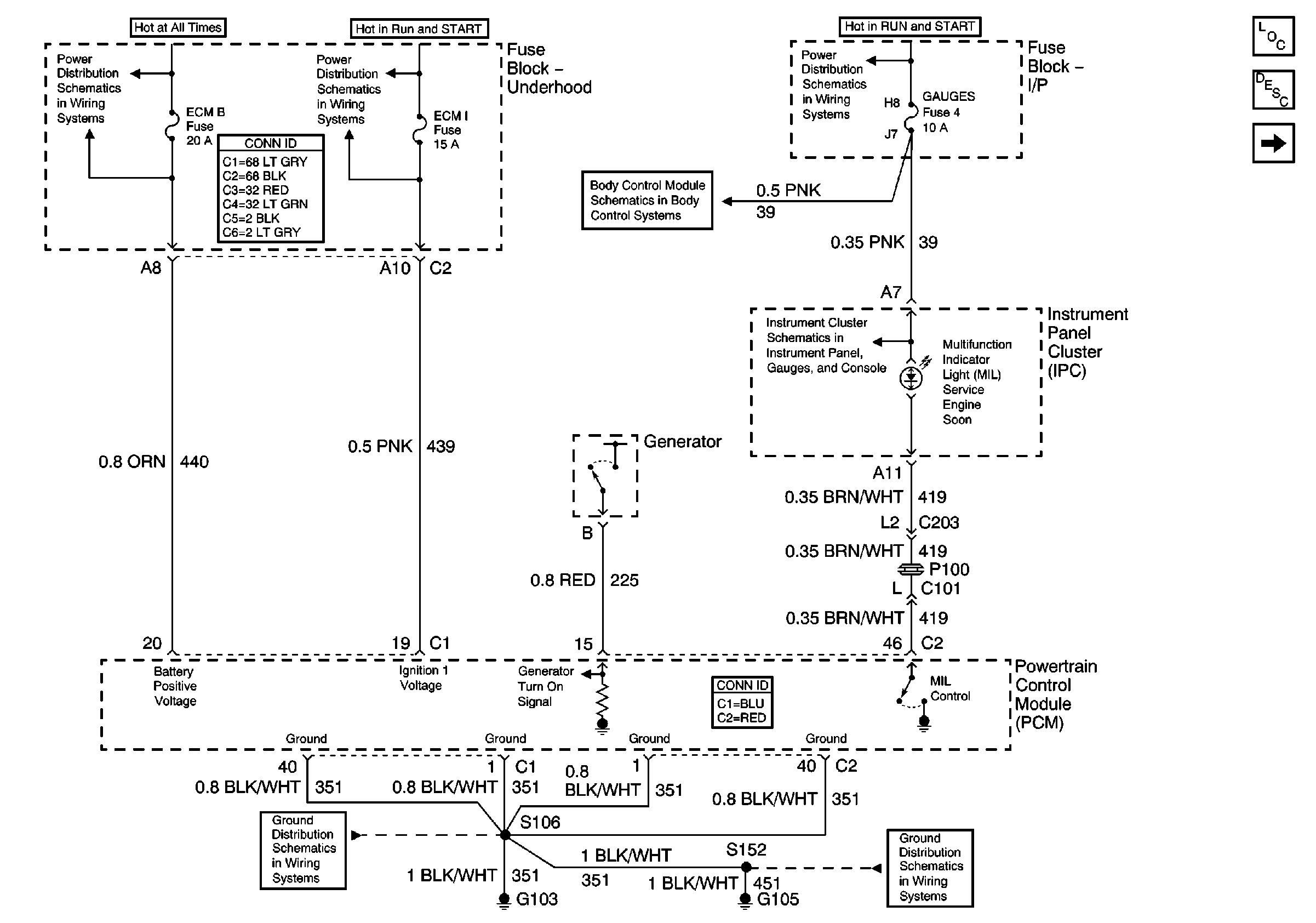
🢒 ECM B, ECM I and GAUGES Fuses, Ground, Generator and MIL
ECM B, ECM I and GAUGES Fuses, Ground, Generator and MIL
ECM B, ECM I and GAUGES Fuses, Ground, Generator and MIL
Master Electrical Component List
Powertrain Control Module Description
CLSTR and 4WD Fuses
ECM B Fuse and Horn, Rear Defogger Relays
ECM I Fuse
Power and Ground
Ign RUN and START Bus Bar
Power and Ground
G103 and G105 (4.3 L)
G103 and G105 (4.3 L)