GM Service Manual Online
For 1990-2009 cars only
Makes
🢒
Chevrolet
🢒
2001
🢒
Blazer - 2WD
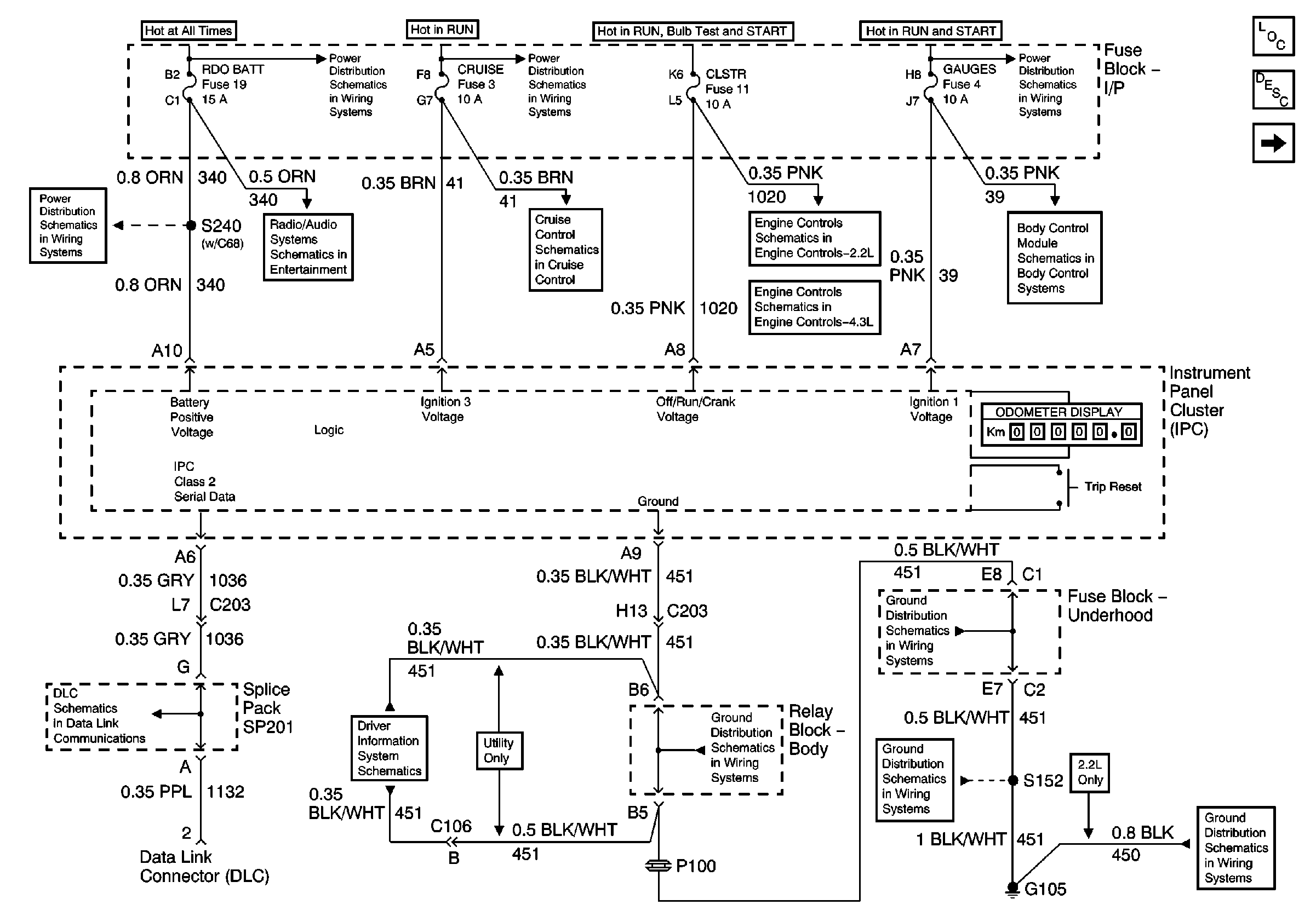
🢒 Power and Ground
Power and Ground
Power and Ground
Master Electrical Component List
Instrument Cluster Description and Operation
Indicators
AUX PWR, RDO BATT and HDLP SW Fuses
Ign ACC, RUN and RAP Bus Bar
TURN, SIR and GAUGES Fuses
AUX PWR, RDO BATT and HDLP SW Fuses
Power (Chevy/GMC)
CRUISE Fuse, Multifunction Switch and Cruise Control Module
ECM B, ECM I, CLSTR Fuses, and PCM Ground
CLSTR and 4WD Fuses
Power and Ground
SP201 (2.2L)
w/o Trip Computer
G103 and G105 (2.2 L)
G103 and G105 (2.2 L)
G103 and G105 (2.2 L)
G103 and G105 (2.2 L)